LUCKY YOU! Extra 10% Off Clearance | Use Code POTOGOLD10 Limited Time! Ends 3/21 Shop Now
CLOSE
Shipping to US Flag United States
Free shipping over $79
My Ride: 2000 KTM 520EXC
Moto Madness Sale | Get Up To 65% Off Parts & Gear Shop Now

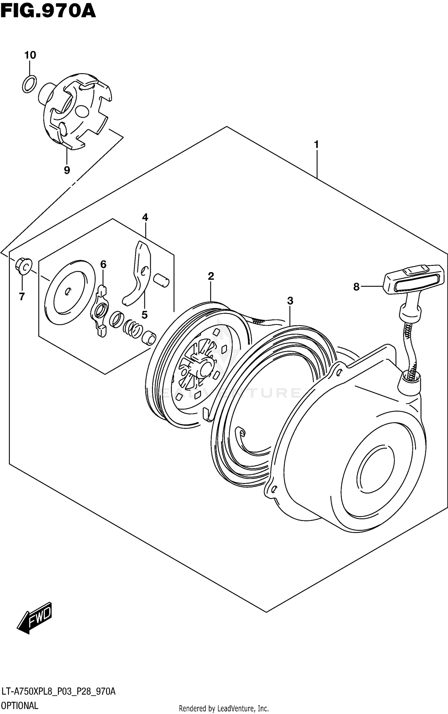
2018 Suzuki KING QUAD 750 AXI (XP) OPTIONAL (RECOIL STARTER)

Set this as my ride
OPTIONAL (RECOIL STARTER)

WARNING Cancer and Reproductive Harm www.P65Warnings.ca.gov.

All 2018 Suzuki KING QUAD 750 AXI (XP) Part Groups
Added to your cart
CLOSE