Kickstart your Riding Season with Bike Prep and Riding Gear Shop Now
CLOSE
Shipping to US Flag United States
Free shipping over $79
Moto Madness Sale | Get Up To 65% Off Parts & Gear Shop Now

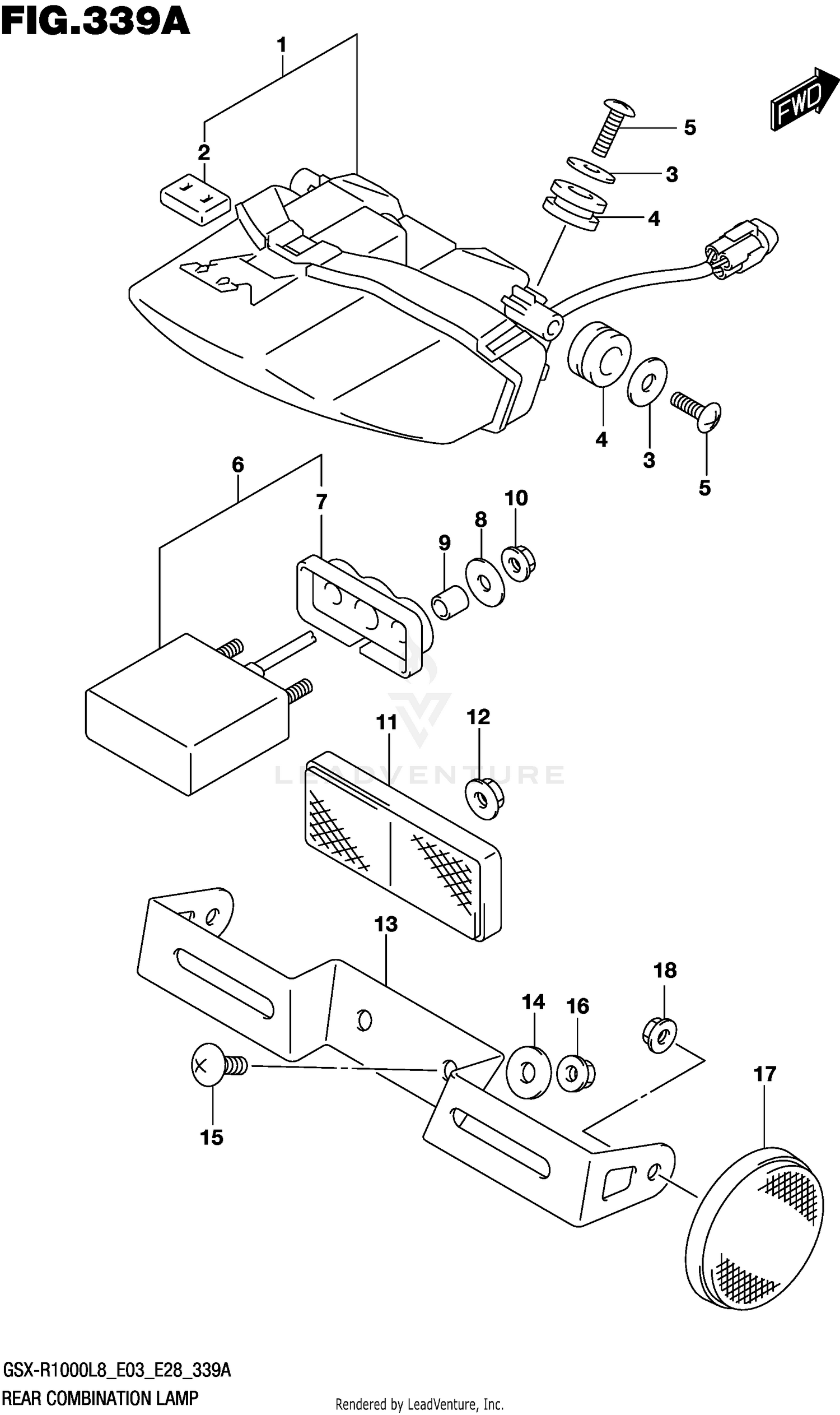
2018 Suzuki GSXR1000 REAR COMBINATION LAMP

Set this as my ride
REAR COMBINATION LAMP

WARNING Cancer and Reproductive Harm www.P65Warnings.ca.gov.

All 2018 Suzuki GSXR1000 Part Groups
Added to your cart
CLOSE