LUCKY YOU! Extra 10% Off Clearance | Use Code POTOGOLD10 Limited Time! Ends 3/21 Shop Now
CLOSE
Shipping to US Flag United States
Free shipping over $79
My Ride: 2025 Yamaha YZF - R1
Moto Madness Sale | Get Up To 65% Off Parts & Gear Shop Now

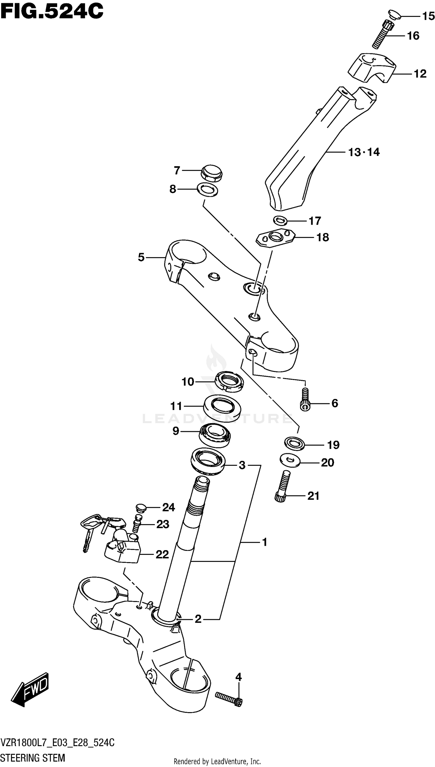
2017 Suzuki VZR1800 STEERING STEM (VZR1800BZL7 E28)

Set this as my ride
STEERING STEM (VZR1800BZL7 E28)

WARNING Cancer and Reproductive Harm www.P65Warnings.ca.gov.

All 2017 Suzuki VZR1800 Part Groups
Added to your cart
CLOSE