BOGOS | Buy One Get One Deals Shop Now
CLOSE
Shipping to US Flag United States
Free shipping over $79
My Ride: 2009 Suzuki LTZ400
Fast Cash Week | Earn $25 Fast Cash When You Spend $199 Learn More

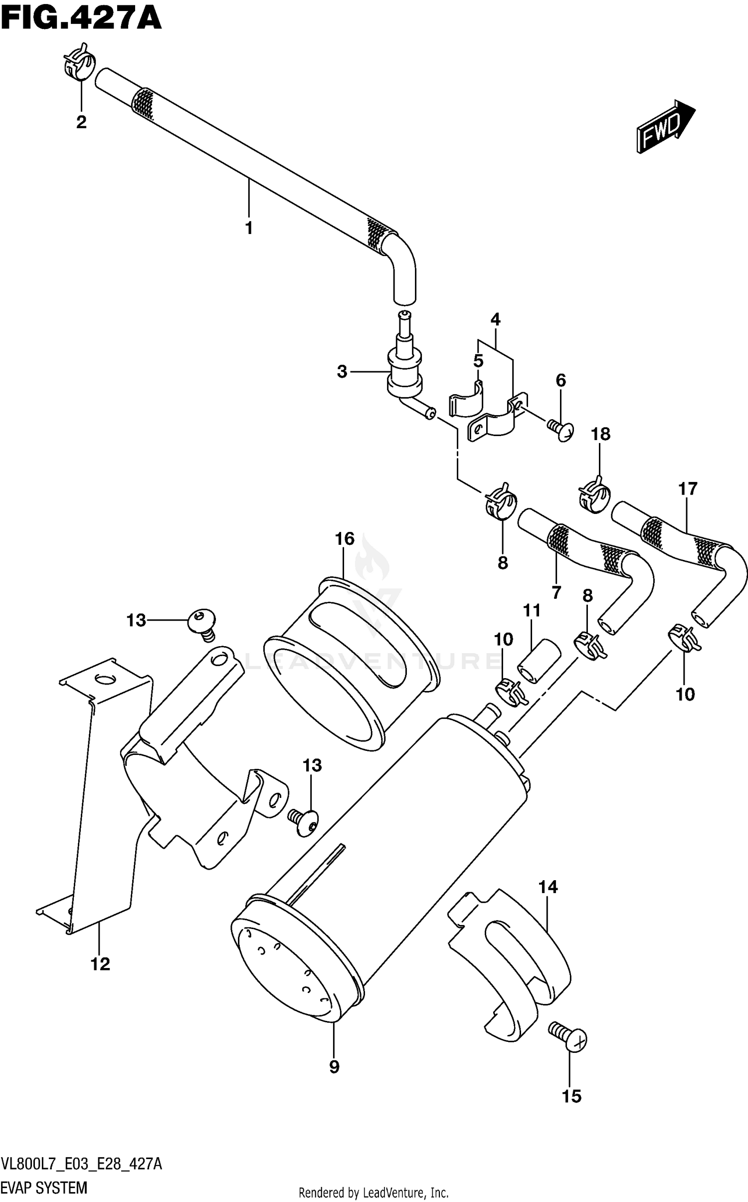
2017 Suzuki VL800 EVAP SYSTEM (VL800L7 E33)

Set this as my ride
EVAP SYSTEM (VL800L7 E33)

WARNING Cancer and Reproductive Harm www.P65Warnings.ca.gov.

All 2017 Suzuki VL800 Part Groups
Added to your cart
CLOSE