Kickstart your Riding Season with Bike Prep and Riding Gear Shop Now
CLOSE
Shipping to US Flag United States
Free shipping over $79
My Ride: 2013 Can-Am OUTLANDER MAX 400
Moto Madness Sale | Get Up To 65% Off Parts & Gear Shop Now

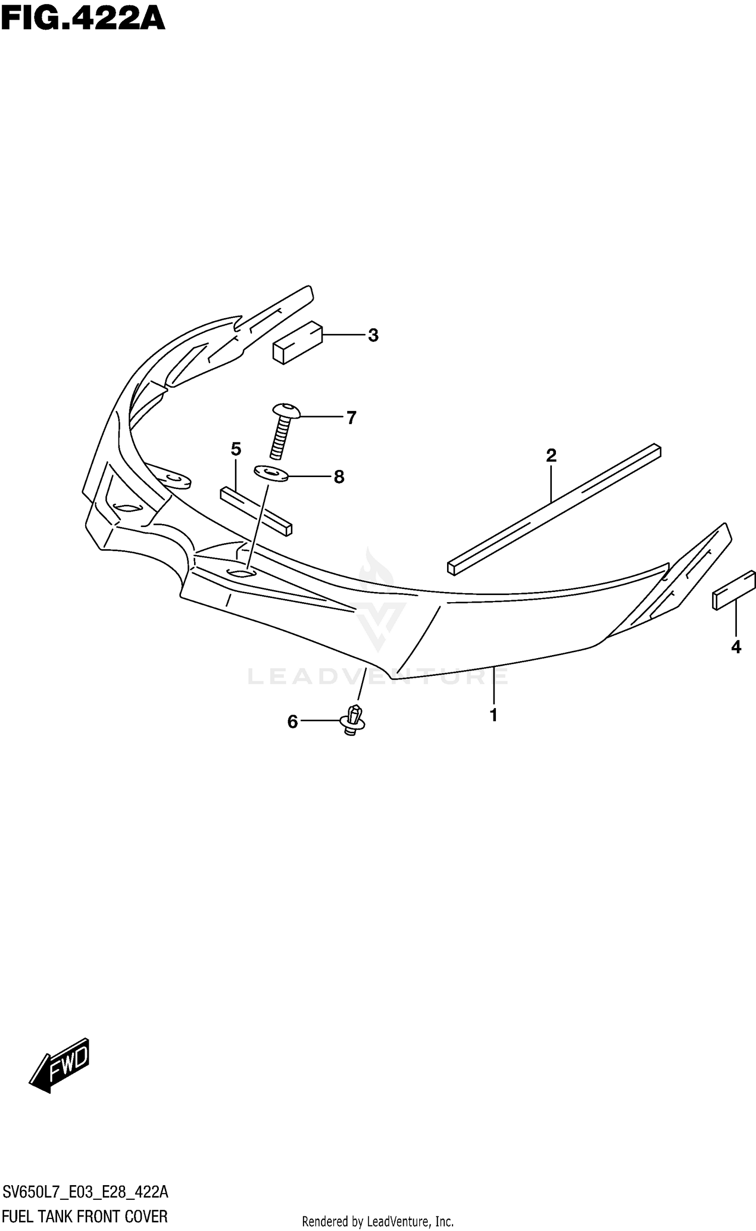
2017 Suzuki SV650 FUEL TANK FRONT COVER

Set this as my ride
FUEL TANK FRONT COVER

WARNING Cancer and Reproductive Harm www.P65Warnings.ca.gov.

All 2017 Suzuki SV650 Part Groups
Added to your cart
CLOSE