LUCKY YOU! Extra 10% Off Clearance | Use Code POTOGOLD10 Limited Time! Ends 3/21 Shop Now
CLOSE
Shipping to US Flag United States
Free shipping over $79
Moto Madness Sale | Get Up To 65% Off Parts & Gear Shop Now

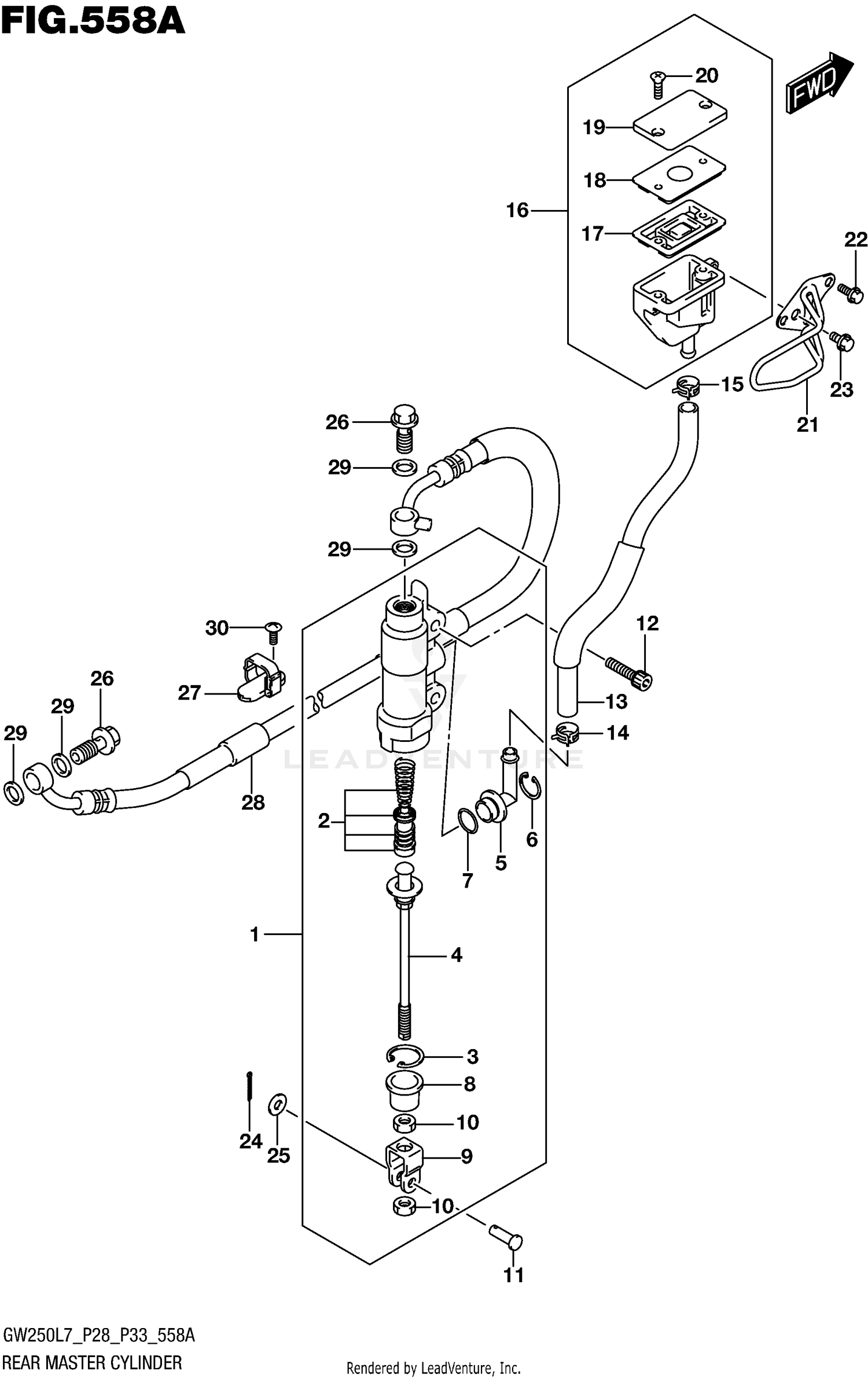
2017 Suzuki GW250 REAR MASTER CYLINDER (GW250L7 P28)

Set this as my ride
REAR MASTER CYLINDER (GW250L7 P28)

WARNING Cancer and Reproductive Harm www.P65Warnings.ca.gov.

All 2017 Suzuki GW250 Part Groups
Added to your cart
CLOSE