Tire Rebates! Get Up To $70 Back Shop Now
CLOSE
Shipping to US Flag United States
Free shipping over $79
My Ride: 2000 Honda TRX400EX
Moto Madness Sale | Get Up To 65% Off Parts & Gear Shop Now

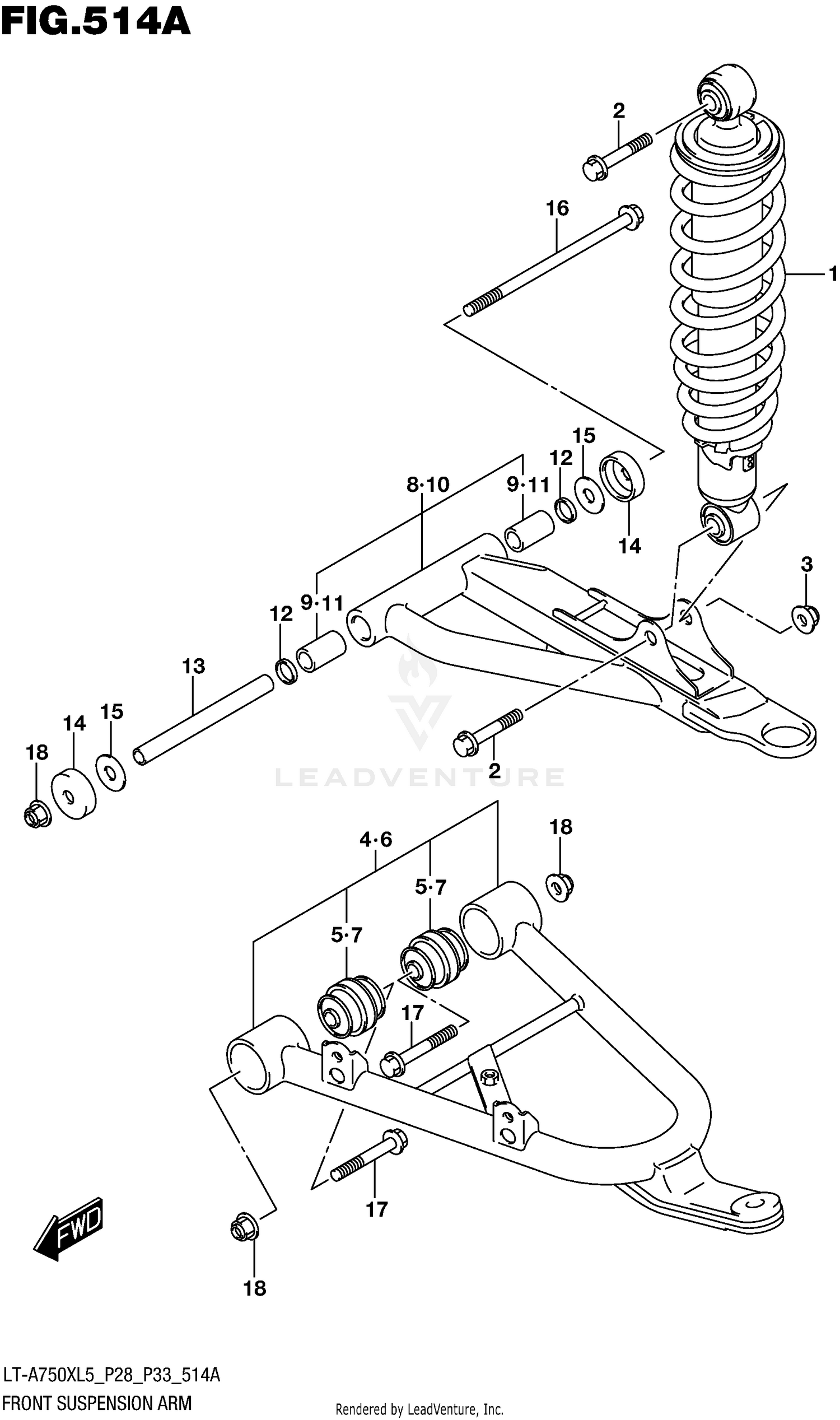
2015 Suzuki KING QUAD 750 FRONT SUSPENSION ARM

Set this as my ride
FRONT SUSPENSION ARM

WARNING Cancer and Reproductive Harm www.P65Warnings.ca.gov.

All 2015 Suzuki KING QUAD 750 Part Groups
Added to your cart
CLOSE