Kickstart your Riding Season with Bike Prep and Riding Gear Shop Now
CLOSE
Shipping to US Flag United States
Free shipping over $79
Bargain Bin Blowout! | Save 40-90% Off! Shop Now

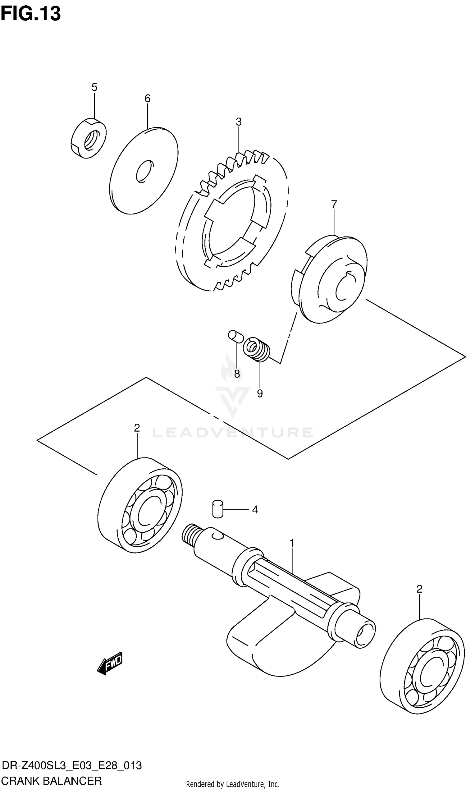
2013 Suzuki DRZ400S CRANK BALANCER

Set this as my ride
CRANK BALANCER

WARNING Cancer and Reproductive Harm www.P65Warnings.ca.gov.

All 2013 Suzuki DRZ400S Part Groups
Added to your cart
CLOSE