^ Emerald\Bundle\InternalBundle\Handler\DatabaseServiceHandler {#266
  #attributes: array:6 [
    "service_name" => "tax_api_v2"
    "enabled" => "0"
    "message" => "Toggle to use V2 tax API base URL"
    "service_id" => "120"
    "last_updated" => "2026-04-15 16:38:00"
    "last_updated_by" => "system"
  ]
}
One Day Only! FREE 2-Day Shipping on Orders Over $99 with code RIDEOFF Shop Now
CLOSE
Shipping to US Flag United States
Free shipping over $79
Fast Cash Week | Earn $25 Fast Cash When You Spend $199 Learn More
Toggle to use V2 tax API base URL

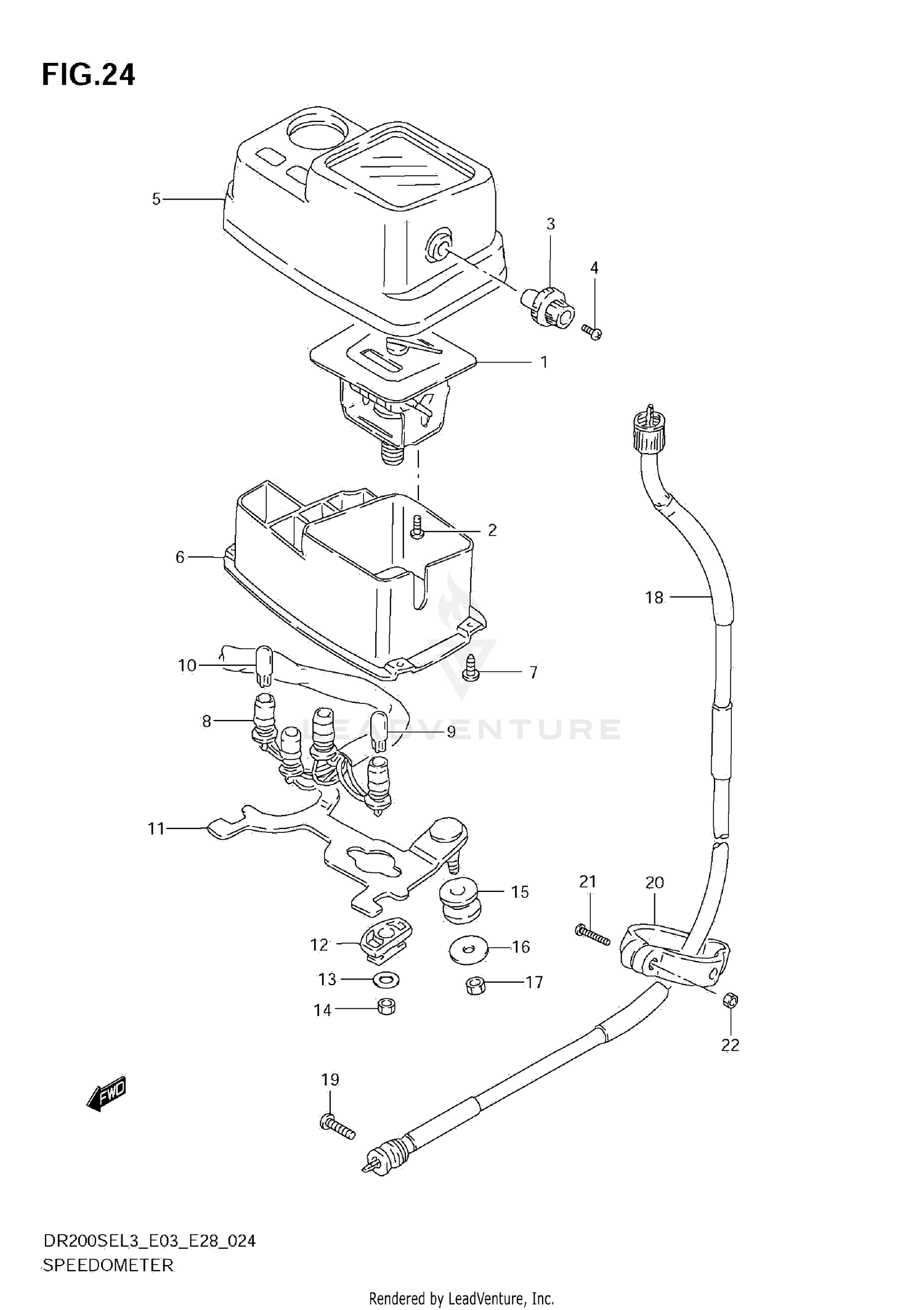
2013 Suzuki DR200SE SPEEDOMETER (DR200SEL3 E28)

Set this as my ride
SPEEDOMETER (DR200SEL3 E28)

WARNING Cancer and Reproductive Harm www.P65Warnings.ca.gov.

Added to your cart
CLOSE