Kickstart your Riding Season with Bike Prep and Riding Gear Shop Now
CLOSE
Shipping to US Flag United States
Free shipping over $79
Moto Madness Sale | Get Up To 65% Off Parts & Gear Shop Now

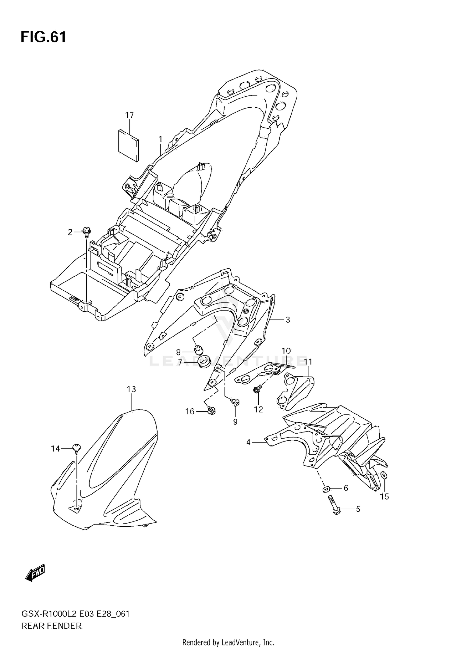
2012 Suzuki GSXR1000 REAR FENDER

Set this as my ride
REAR FENDER

WARNING Cancer and Reproductive Harm www.P65Warnings.ca.gov.

All 2012 Suzuki GSXR1000 Part Groups
Added to your cart
CLOSE