LUCKY YOU! Extra 10% Off Clearance | Use Code POTOGOLD10 Limited Time! Ends 3/18 Shop Now
CLOSE
Shipping to US Flag United States
Free shipping over $79
My Ride: 2017 Can-Am OUTLANDER MAX 450 DPS
Moto Madness Sale | Get Up To 65% Off Parts & Gear Shop Now

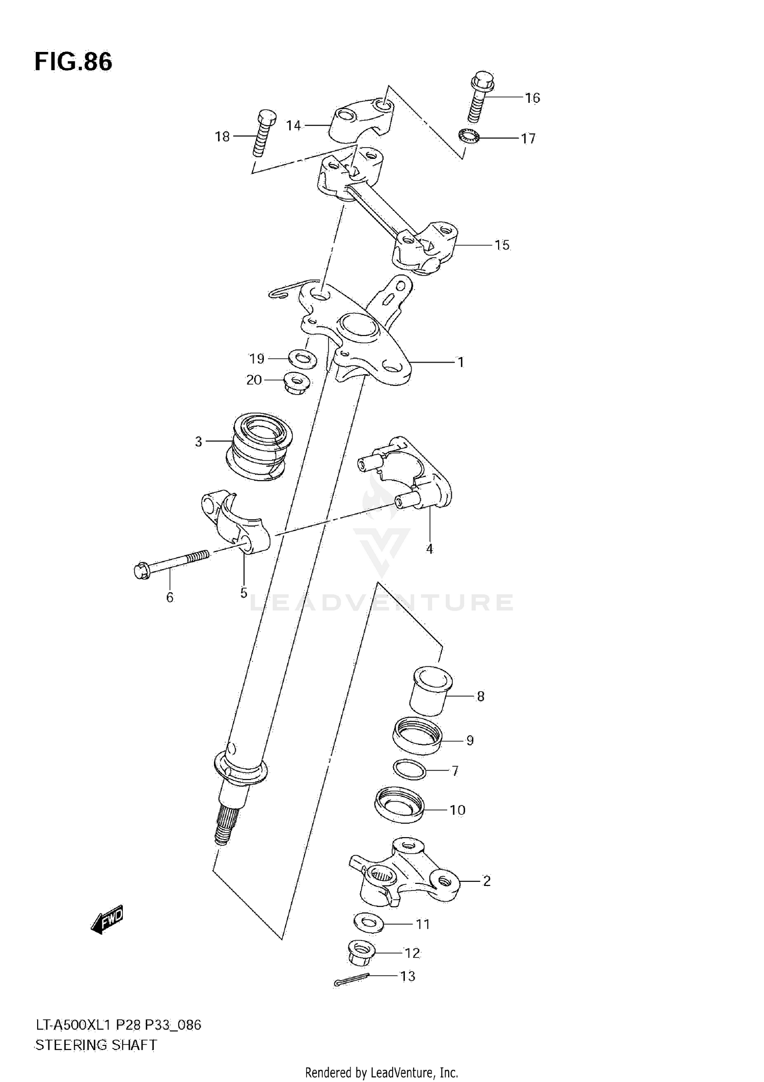
2011 Suzuki KING QUAD 500AXI 4X4 STEERING SHAFT

Set this as my ride
STEERING SHAFT

WARNING Cancer and Reproductive Harm www.P65Warnings.ca.gov.

All 2011 Suzuki KING QUAD 500AXI 4X4 Part Groups
Added to your cart
CLOSE