BOGOS | Buy One Get One Deals Shop Now
CLOSE
Shipping to US Flag United States
Free shipping over $79
My Ride: 2001 Polaris SCRAMBLER 400 2X4
Fast Cash Week | Earn $25 Fast Cash When You Spend $199 Learn More

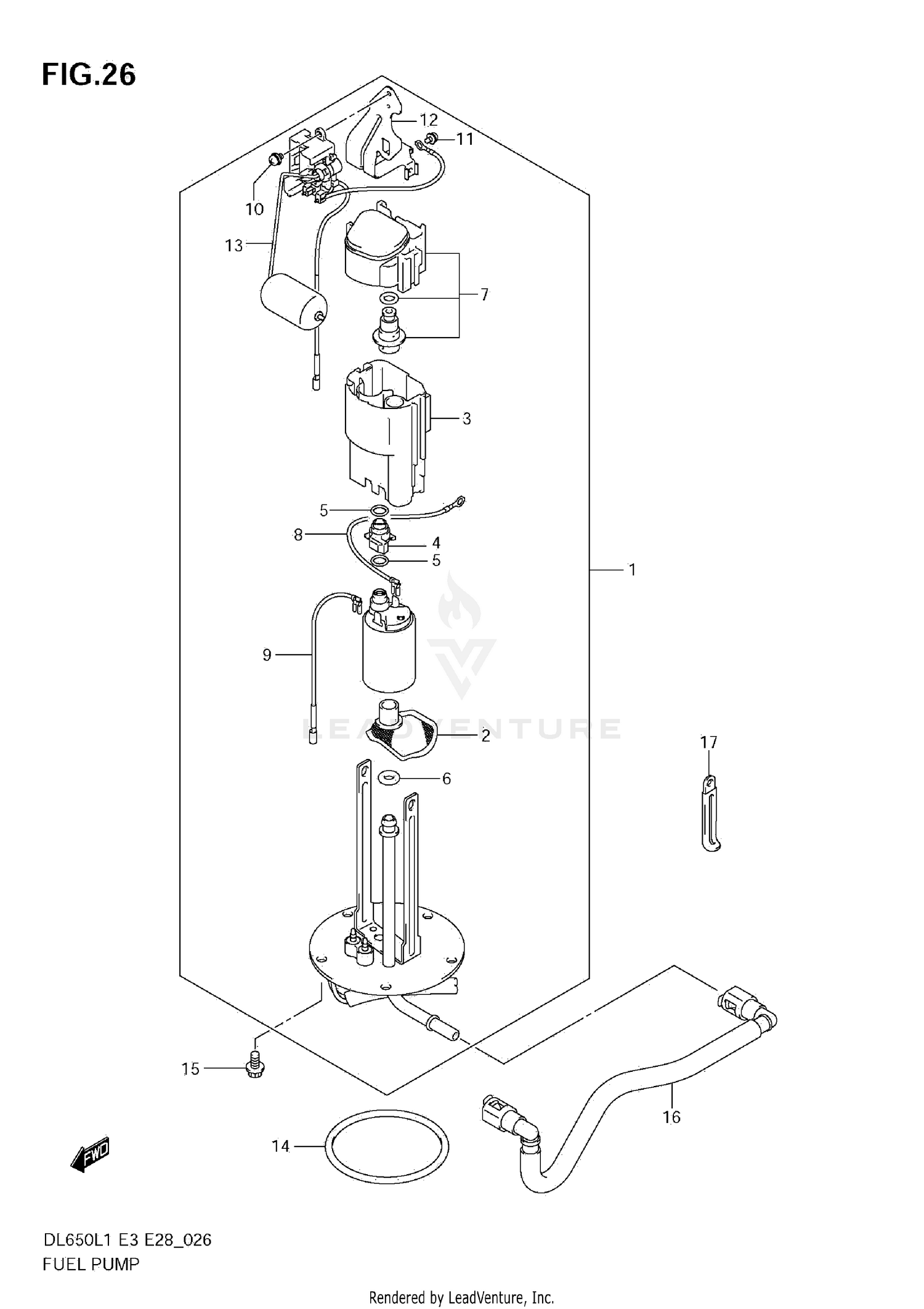
2011 Suzuki DL650 FUEL PUMP

Set this as my ride
FUEL PUMP

WARNING Cancer and Reproductive Harm www.P65Warnings.ca.gov.

All 2011 Suzuki DL650 Part Groups
Added to your cart
CLOSE