Kickstart your Riding Season with Bike Prep and Riding Gear Shop Now
CLOSE
Shipping to US Flag United States
Free shipping over $79
Moto Madness Sale | Get Up To 65% Off Parts & Gear Shop Now

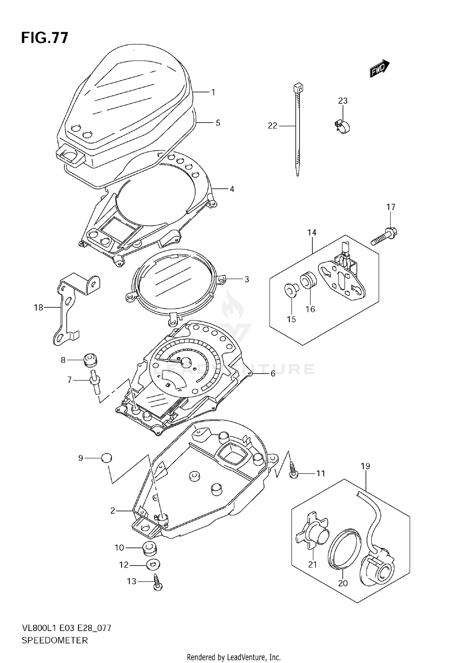
2011 Suzuki BOULEVARD C50 - VL800C SPEEDOMETER (VL800T E33)

Set this as my ride
SPEEDOMETER (VL800T E33)

WARNING Cancer and Reproductive Harm www.P65Warnings.ca.gov.

All 2011 Suzuki BOULEVARD C50 - VL800C Part Groups
Added to your cart
CLOSE