Acerbis Plastic Kits Starting At $119.99 Shop Now
CLOSE
Shipping to US Flag United States
Free shipping over $79
Fast Cash Week Ends Today! | Earn $10 When you Spend $99 + $25 When You Spend $199 Shop Now

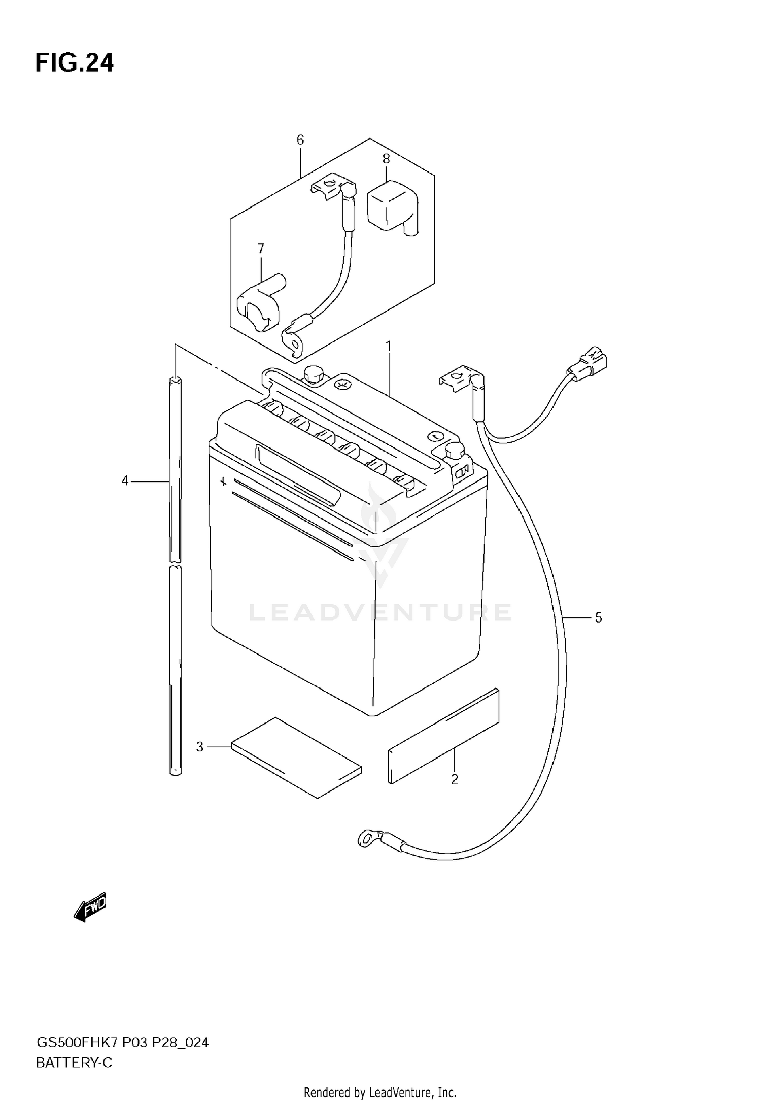
2007 Suzuki GS500F BATTERY

Set this as my ride
BATTERY

WARNING Cancer and Reproductive Harm www.P65Warnings.ca.gov.

  • # Part Retail Our Price
    Stock Status Suggested Quantity
  • 1
    33610-04A20 battery (fb10l-b2,12v11ah) Supersedes: 33610-04A40 (BATTERY (12V,14AH))
    This part is currently unavailable.
  • 2
    33651-37000 cushion, rear fender rear Supersedes: 33652-29100 (PROTECTOR (170X95X3.0)) Price: $6.36
    In Stock
  • 3
    33652-06C00 cushion, lower (40x120x6) Supersedes: 33652C09400J000 (CUSHION, LOWER (40X120X6)) Price: $5.19
    Expected to Ship in 4-9 Days
  • 4
    33680-16A11 hose,battery ex Supersedes: 33680C31003J000 (HOSE, EXHAUST) Price: $8.43
    Expected to Ship in 4-9 Days
  • 5
    33860-01D10 lead wire, (-) Retail: $23.37 Price: $21.97
    Expected to Ship in 4-9 Days
  • 6
    33870-01D10 lead wire,batte Includes Item(s) 7 - 8 Supersedes: 33870-01D00 (LEAD WIRE,BATTE | Includes Item(s) 7 - 8) Retail: $33.03 Price: $31.05
    Expected to Ship in 4-9 Days
  • 7
    Expected to Ship in 4-9 Days
  • 8
    33624-0BE00 cap, battery (+)
    This part is currently unavailable.
Added to your cart
CLOSE