BOGOS | Buy One Get One Deals Shop Now
CLOSE
Shipping to US Flag United States
Free shipping over $79
Fast Cash Week | Earn $25 Fast Cash When You Spend $199 Learn More

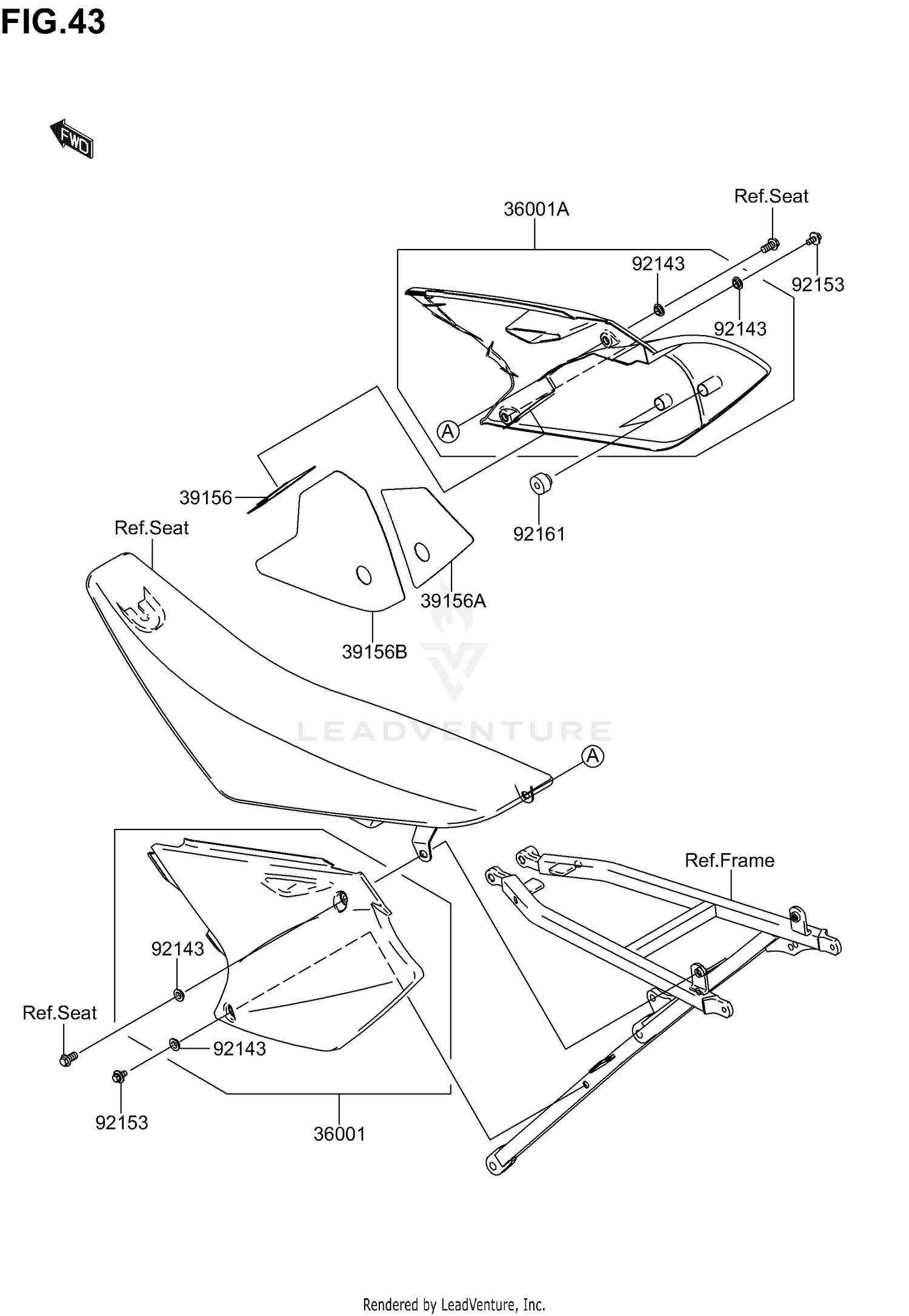
2006 Suzuki RMZ250 SIDE COVER

Set this as my ride
SIDE COVER

WARNING Cancer and Reproductive Harm www.P65Warnings.ca.gov.

  • # Part Retail Our Price
    Stock Status Suggested Quantity
  • 36001
    K3600-10022-266 cover-side,lh,s.white
    This part is currently unavailable.
  • 36001A
    K3600-10033-266 cover-side,rh,s.white
    This part is currently unavailable.
  • 39156
    K3915-60033 pad,side cover,rh
    This part is currently unavailable.
  • 39156A
    Expected to Ship in 4-9 Days
  • 39156B
    Expected to Ship in 4-9 Days
  • 92143
    K9214-31196 collar Retail: $4.46 Price: $1.77
    In Stock
  • 92153
    Expected to Ship in 4-9 Days
  • 92161
    K9216-10073 damper
    This part is currently unavailable.
Added to your cart
CLOSE