Kickstart your Riding Season with Bike Prep and Riding Gear Shop Now
CLOSE
Shipping to US Flag United States
Free shipping over $79
My Ride: 2002 Harley Davidson Softail Deuce - FXSTD
Moto Madness Sale | Get Up To 65% Off Parts & Gear Shop Now

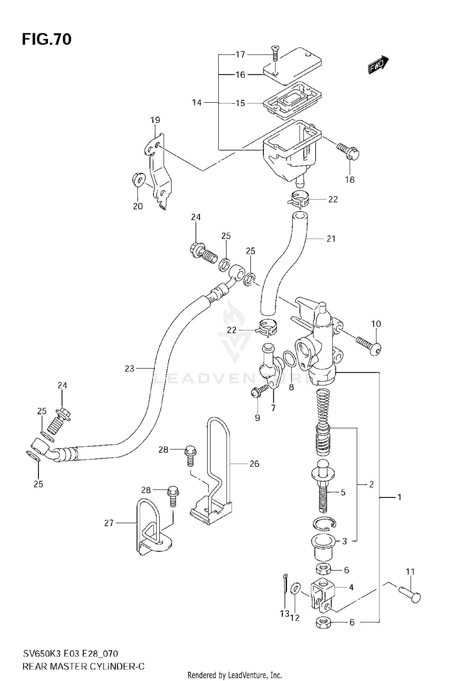
2003 Suzuki SV650 REAR MASTER CYLINDER (SV650K3)

Set this as my ride
REAR MASTER CYLINDER (SV650K3)

WARNING Cancer and Reproductive Harm www.P65Warnings.ca.gov.

All 2003 Suzuki SV650 Part Groups
Added to your cart
CLOSE