Kickstart your Riding Season with Bike Prep and Riding Gear Shop Now
CLOSE
Shipping to US Flag United States
Free shipping over $79
Moto Madness Sale | Get Up To 65% Off Parts & Gear Shop Now

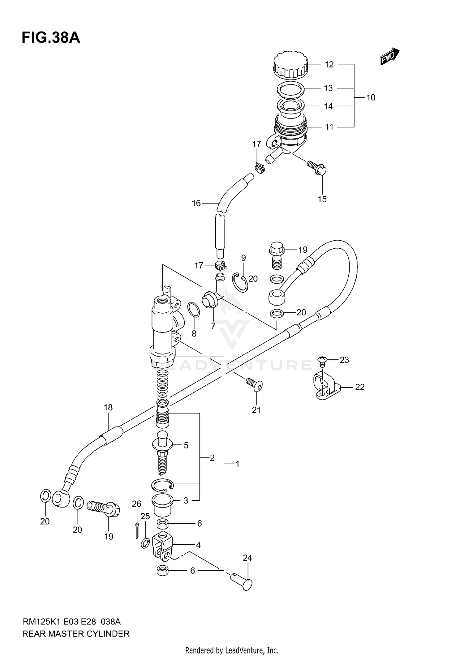
2003 Suzuki RM125 REAR MASTER CYLINDER (MODEL K3)

Set this as my ride
REAR MASTER CYLINDER (MODEL K3)

WARNING Cancer and Reproductive Harm www.P65Warnings.ca.gov.

  • # Part Retail Our Price
    Stock Status Suggested Quantity
  • 1
    69600-37F11 no description available Includes Item(s) 2 - 9 Supersedes: 69600-37F10 (CYLINDER ASSY, REAR MASTER)
    This part is currently unavailable.
  • 2
    69600-04821 .piston/cup set Supersedes: 69600-04820 (PISTON/CUP SET) Retail: $39.87 Price: $37.48
    In Stock
  • 3
    69691-00A00 .boot Price: $7.75
    Expected to Ship in 4-9 Days
  • 4
    69692-37F10 yoke
    This part is currently unavailable.
  • 5
    69670-37F00 no description available Supersedes: 69670-27A40 (ROD, PUSH)
    This part is currently unavailable.
  • 6
    69693-05A00 nut Supersedes: 69693-24A00 (NUT) Price: $2.39
    In Stock
  • 7
    59672-17C00 connector Retail: $11.50 Price: $10.81
    Expected to Ship in 4-9 Days
  • 8
    In Stock
  • 9
    Expected to Ship in 4-9 Days
  • 10
    69740-03D10 tank assy, reservoir Includes Item(s) 11 - 14 Retail: $81.99 Price: $76.25
    Expected to Ship in 4-9 Days
  • 11
    69741-03D00 tank, reservoir Retail: $51.29 Price: $47.70
    Expected to Ship in 4-9 Days
  • 12
    69669-03D10 cap Retail: $24.46 Price: $22.99
    Expected to Ship in 4-9 Days
  • 13
    69668-00B20 plate Price: $9.52
    Expected to Ship in 4-9 Days
  • 14
    69667-00B20 diaphragm Retail: $19.92 Price: $18.72
    Expected to Ship in 4-9 Days
  • 15
    09103-06233 bolt Price: $2.82
    In Stock
  • 16
    69731-37F00 hose
    This part is currently unavailable.
  • 17
    69735-00B20 clamp Price: $5.99
    Expected to Ship in 4-9 Days
  • 18
    69480-36F11 no description available Supersedes: 69480-36F10 (HOSE,REAR BRAKE)
    This part is currently unavailable.
  • 19
    09360-10062 union Supersedes: 09360-10033 (BOLT, CALIPER (10X1.25X22)) Price: $9.02
    In Stock
  • 20
    09161-10009 washer (10x15x1.5) Supersedes: 09161C10009J000 (WASHER (10X15X1.5)) Price: $2.55
    In Stock
  • 21
    09139-06237 screw(6x16) Supersedes: 09139-06067 (BOLT (6X16)) Price: $3.28
    In Stock
  • 22
    61196-27C50 guide rr brake (hole 1-5.5) Supersedes: 61196-27C30 (GUIDE, HOSE) Price: $8.77
    In Stock
  • 23
    02142-0510B screw Supersedes: 02142-0510A (BOLT) Price: $2.47
    In Stock
  • 24
    09200-08048 pin Price: $3.86
    In Stock
  • 25
    09160-08090 washer Supersedes: 09160-08119 (WASHER) Price: $3.30
    In Stock
  • 26
    04111-2015A .cotter pin Supersedes: 04111-20158 (COTTER PIN) Price: $1.70
    In Stock
All 2003 Suzuki RM125 Part Groups
Added to your cart
CLOSE