BOGOS End Today! | Buy One Get One Deals Shop Now
CLOSE
Shipping to US Flag United States
Free shipping over $79
My Ride: 2024 Polaris RZR PRO XP
Fast Cash Week Ends Today! | Earn $25 Fast Cash When You Spend $199 Learn More

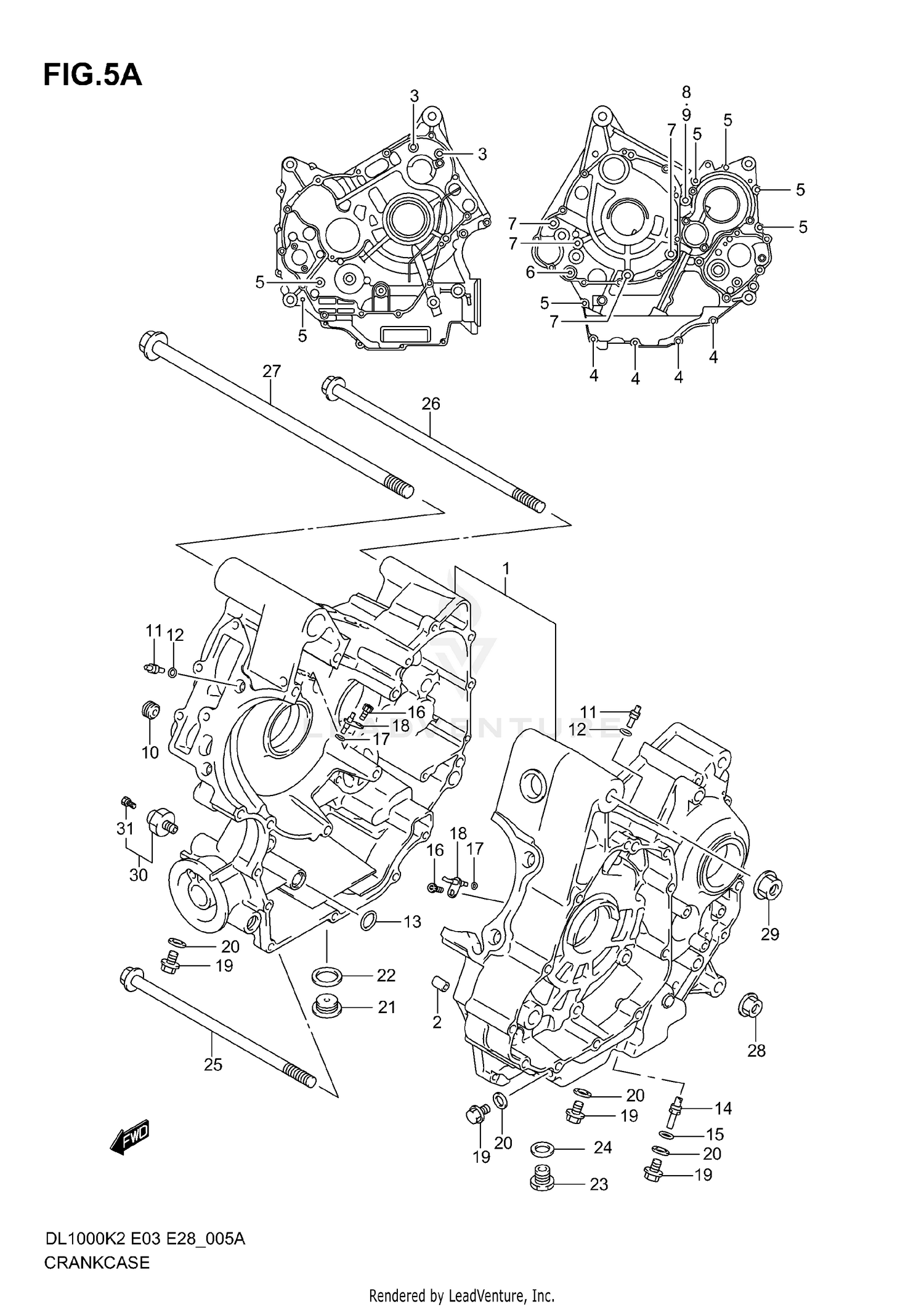
2003 Suzuki DL1000 CRANKCASE (MODEL K6)

Set this as my ride
CRANKCASE (MODEL K6)

WARNING Cancer and Reproductive Harm www.P65Warnings.ca.gov.

All 2003 Suzuki DL1000 Part Groups
Added to your cart
CLOSE