Tire Rebates! Get Up To $70 Back Shop Now
CLOSE
Shipping to US Flag United States
Free shipping over $79
My Ride: 2012 Can-Am OUTLANDER MAX 500 XT
Moto Madness Sale | Get Up To 65% Off Parts & Gear Shop Now

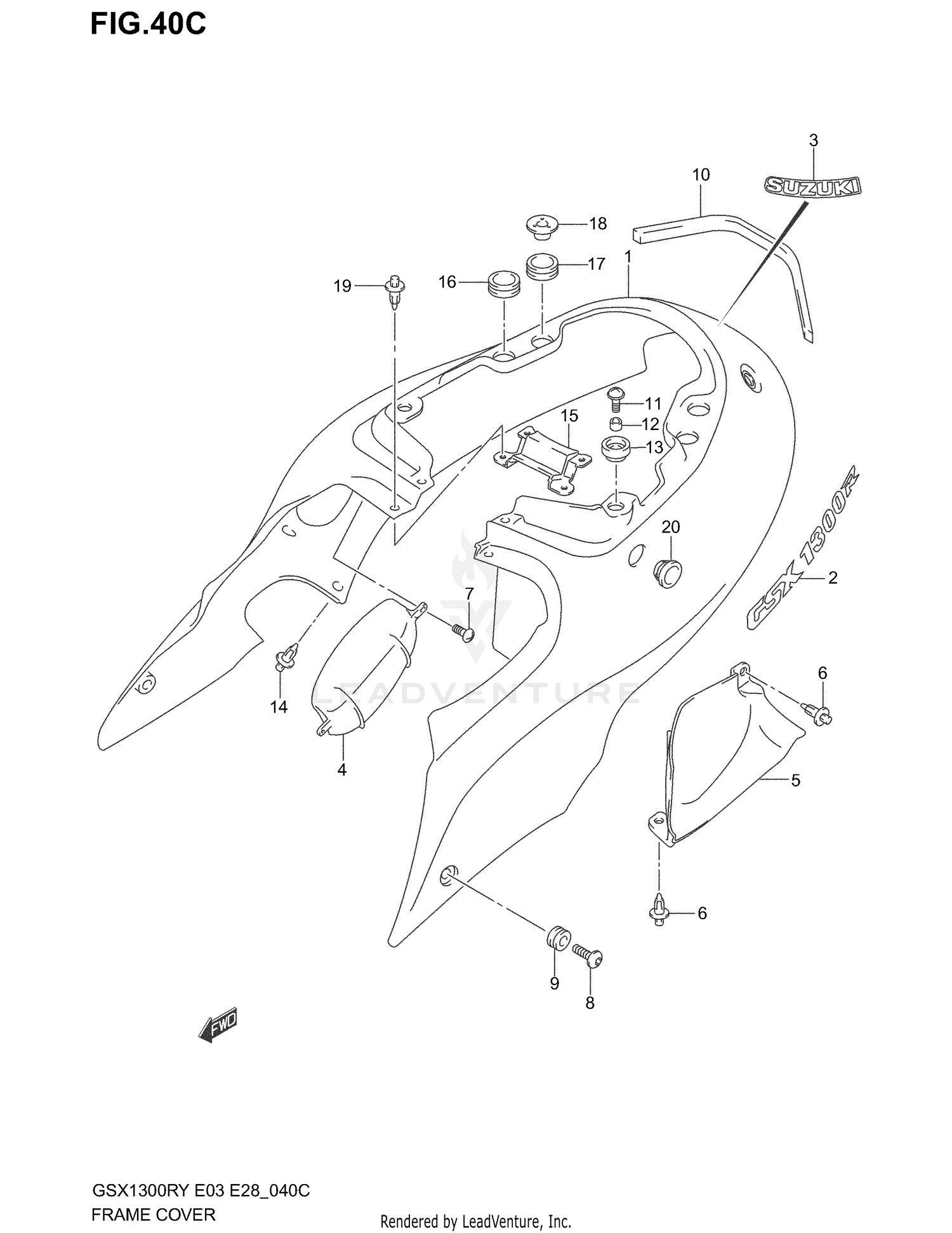
2000 Suzuki HAYABUSA FRAME COVER (MODEL K2)

Set this as my ride
FRAME COVER (MODEL K2)

WARNING Cancer and Reproductive Harm www.P65Warnings.ca.gov.

All 2000 Suzuki HAYABUSA Part Groups
Added to your cart
CLOSE