Tire Rebates! Get Up To $70 Back Shop Now
CLOSE
Shipping to US Flag United States
Free shipping over $79
My Ride: 2010 Yamaha Raider 1900 - XV19C
Moto Madness Sale | Get Up To 65% Off Parts & Gear Shop Now

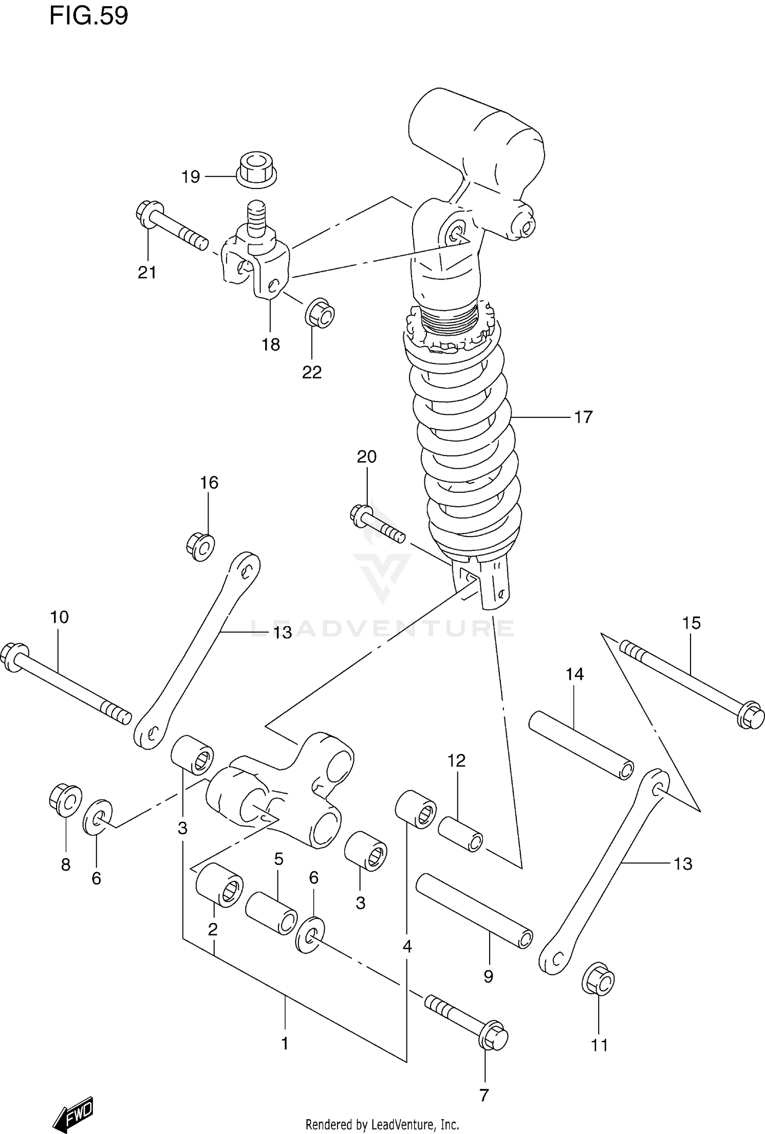
2000 Suzuki GSXR600 REAR CUSHION LEVER

Set this as my ride
REAR CUSHION LEVER

WARNING Cancer and Reproductive Harm www.P65Warnings.ca.gov.

All 2000 Suzuki GSXR600 Part Groups
Added to your cart
CLOSE