Kickstart your Riding Season with Bike Prep and Riding Gear Shop Now
CLOSE
Shipping to US Flag United States
Free shipping over $79
Moto Madness Sale | Get Up To 65% Off Parts & Gear Shop Now

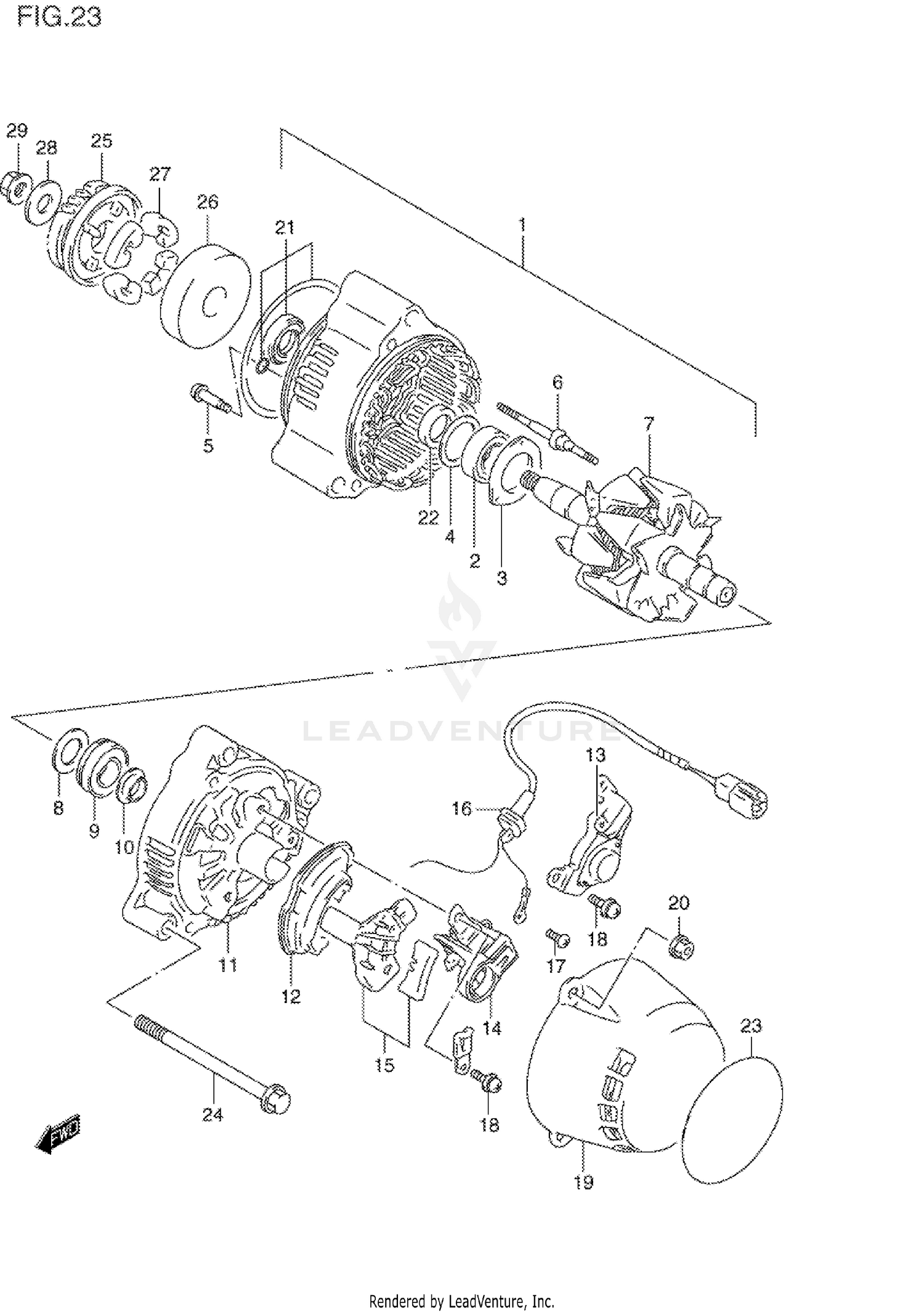
1997 Suzuki KATANA - GSX600F ALTERNATOR

Set this as my ride
ALTERNATOR

WARNING Cancer and Reproductive Harm www.P65Warnings.ca.gov.

  • # Part Retail Our Price
    Stock Status Suggested Quantity
  • 1
    31400-17C04 alternator assy Includes Item(s) 2 - 23 Supersedes: 31400-48B03 (ALTERNATOR ASSY)
    This part is currently unavailable.
  • 2
    31612-06B00 bearing Retail: $37.11 Price: $34.88
    Expected to Ship in 4-9 Days
  • 3
    31585-48B00 retainer, bearing
    This part is currently unavailable.
  • 4
    Expected to Ship in 4-9 Days
  • 5
    31586-48B00 screw Price: $2.00
    Expected to Ship in 4-9 Days
  • 6
    31587-85250 stud bolt Supersedes: 31587-19C00 (STUD BOLT) Price: $9.90
    Expected to Ship in 4-9 Days
  • 7
    31710-48B04 rotor assy Supersedes: 31710-48B03 (ROTOR ASSY) Retail: $261.00 Price: $221.85
    Expected to Ship in 4-9 Days
  • 8
    Expected to Ship in 4-9 Days
  • 9
    31612-48B00 bearing Retail: $50.85 Price: $47.29
    Expected to Ship in 4-9 Days
  • 10
    Expected to Ship in 4-9 Days
  • 11
    31611-48B00 frame, end Retail: $76.75 Price: $71.38
    Expected to Ship in 4-9 Days
  • 12
    31621-27A00 holder, rectifier
    This part is currently unavailable.
  • 13
    32500-27A00 regulator
    This part is currently unavailable.
  • 14
    31656-48B00 holder, brush
    This part is currently unavailable.
  • 15
    31687-17E00 cover, rectifier Supersedes: 31687-27A00 (COVER, RECTIFIER) Price: $8.56
    Expected to Ship in 4-9 Days
  • 16
    31480-48B00 lead wire Retail: $34.54 Price: $32.47
    Expected to Ship in 4-9 Days
  • 17
    02112-0406B screw Supersedes: 02112-04063 (SCREW) Price: $2.16
    In Stock
  • 18
    31688-27A00 screw (5x17) Supersedes: 31688-06B00 (SCREW (5X17)) Price: $1.78
    Expected to Ship in 4-9 Days
  • 19
    31614-48B00 cover
    This part is currently unavailable.
  • 20
    08316-1005A nut Supersedes: 08316-10053 (NUT) Price: $3.04
    In Stock
  • 21
    31780-27X50 oil seal set Supersedes: 31780-48B00 (OIL SEAL SET) Retail: $58.14 Price: $54.07
    Expected to Ship in 4-9 Days
  • 22
    31776-06B00 spacer Retail: $23.90 Price: $22.47
    Expected to Ship in 4-9 Days
  • 23
    31615-27E00 protector, alternator Supersedes: 31615-17C00 (PROTECTOR, ALTERNATOR) Price: $10.21
    Expected to Ship in 4-9 Days
  • 24
    01550-0890B bolt Supersedes: 01550-08903 (BOLT) Price: $6.49
    Expected to Ship in 4-9 Days
  • 25
    22730-19C02 gear, generator driven (nt:30) Supersedes: 22730-20C00 (GEAR, GENERATOR DRIVEN) Retail: $92.87 Price: $86.37
    Expected to Ship in 4-9 Days
  • 26
    22733-27A05 housing damper Supersedes: 22733-27A04 (HOUSING, GENERATOR GEAR DAMPE) Retail: $64.69 Price: $60.16
    Expected to Ship in 4-9 Days
  • 27
    In Stock
  • 28
    Expected to Ship in 4-9 Days
  • 29
    08316-2010B nut Supersedes: 08316-20103 (NUT, SUSPENSION ARM) Retail: $4.88 Price: $2.77
    In Stock
Added to your cart
CLOSE