Tire Rebates! Get Up To $70 Back Shop Now
CLOSE
Shipping to US Flag United States
Free shipping over $79
Moto Madness Sale | Get Up To 65% Off Parts & Gear Shop Now

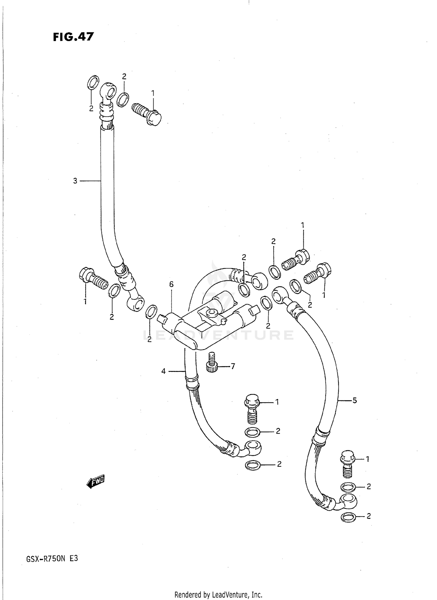
1992 Suzuki GSXR750N FRONT BRAKE HOSE

Set this as my ride
FRONT BRAKE HOSE

WARNING Cancer and Reproductive Harm www.P65Warnings.ca.gov.

  • # Part Retail Our Price
    Stock Status Suggested Quantity
  • 1
    09360-10017 bolt Price: $4.78
    In Stock
  • 2
    09161-10009 washer (10x15x1.5) Supersedes: 09161C10009J000 (WASHER (10X15X1.5)) Price: $2.55
    In Stock
  • 3
    59480-17D10 hose, front brake no.1
    This part is currently unavailable.
  • 4
    59240-17D00 hose, front brake no.2 rh
    This part is currently unavailable.
  • 5
    59440-17D00 hose, front brake no.2 lh
    This part is currently unavailable.
  • 6
    59491-40C01 joint, brake hose
    This part is currently unavailable.
  • 7
    07130-0616B bolt Supersedes: 07130-06163 (BOLT) Price: $3.30
    In Stock
Added to your cart
CLOSE