Kickstart your Riding Season with Bike Prep and Riding Gear Shop Now
CLOSE
Shipping to US Flag United States
Free shipping over $79
My Ride: 2012 Triumph Scrambler
Moto Madness Sale | Get Up To 65% Off Parts & Gear Shop Now

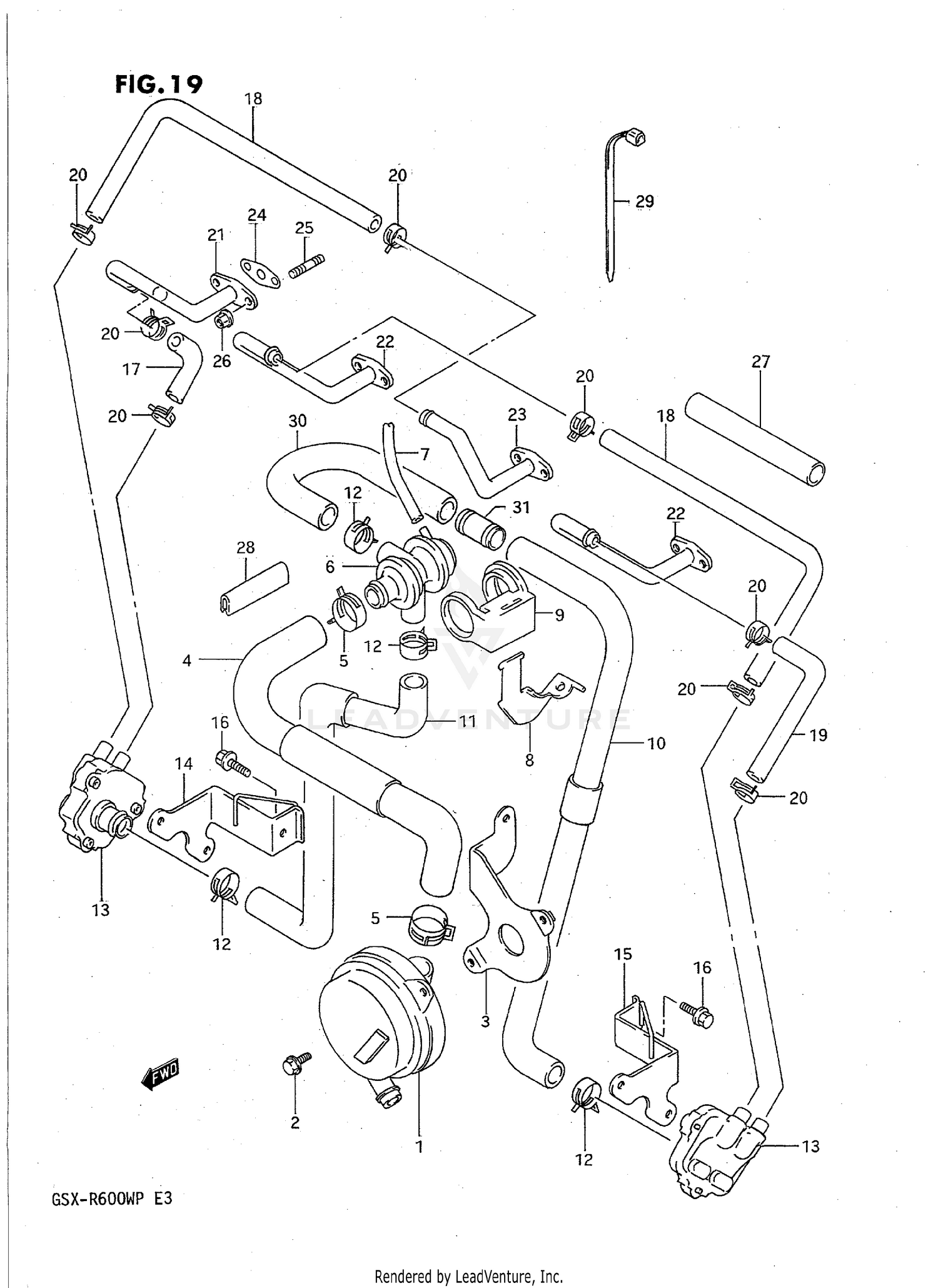
1992 Suzuki GSXR600 SECOND AIR (CALIFORNIA ONLY)

Set this as my ride
SECOND AIR (CALIFORNIA ONLY)

WARNING Cancer and Reproductive Harm www.P65Warnings.ca.gov.

  • # Part Retail Our Price
    Stock Status Suggested Quantity
  • 1
    18700-17C03 cleaner assy, 2nd air MODEL N Supersedes: 18700-06B03 (CLEANER ASSY, 2ND AIR)
    This part is currently unavailable.
  • 1
    18700-17C03 cleaner assy, 2nd air MODEL P Supersedes: 18700-06B04 (CLEANER ASSY, 2ND AIR)
    This part is currently unavailable.
  • 2
    01550-0612A bolt, clamp Supersedes: 01517-06125 (BOLT, PLATE) Price: $2.73
    In Stock
  • 3
    18750-17E00 bracket, 2nd air cleaner
    This part is currently unavailable.
  • 4
    18550-17E00 hose, 2nd air cleaner
    This part is currently unavailable.
  • 5
    09401-26402 clip
    This part is currently unavailable.
  • 6
    18510-06B00 valve assy, air switching Retail: $176.14 Price: $149.72
    Expected to Ship in 4-9 Days
  • 7
    09359-45852-600 hose, 2nd air valve vacuum Supersedes: 09359-45852-300 (HOSE, VACUUM) Price: $8.44
    Expected to Ship in 4-9 Days
  • 8
    18741-17E00 bracket, 2nd air valve
    This part is currently unavailable.
  • 9
    18487-01D00 cushion, 2nd air valve Retail: $16.41 Price: $15.43
    Expected to Ship in 4-9 Days
  • 10
    18480-17E01 hose, 2nd air valve no.1 MODEL N Supersedes: 18480-17E00 (HOSE, 2ND AIR VALVE NO.1)
    This part is currently unavailable.
  • 10
    18480-17E01 hose, 2nd air valve no.1 MODEL P
    This part is currently unavailable.
  • 11
    18490-17E00 hose, 2nd air valve no.2 MODEL N
    This part is currently unavailable.
  • 11
    18490-17E01 hose, 2nd air valve no.2 MODEL P
    This part is currently unavailable.
  • 12
    09401-21401 clip
    This part is currently unavailable.
  • 13
    18450-48B00 valve assy, 2nd air reed Retail: $110.86 Price: $94.23
    Expected to Ship in 4-9 Days
  • 14
    18720-17E01 bracket, reed valve rh
    This part is currently unavailable.
  • 15
    18730-17E02 bracket. reed valve rh Supersedes: 18730-17E01 (BRACKET, REED VALVE LH)
    This part is currently unavailable.
  • 16
    01550-0616A bolt Supersedes: 01550-06163 (BOLT, HOLDER) Price: $2.73
    In Stock
  • 17
    18448-17E01 hose, 2nd air no.4 MODEL N Supersedes: 18448-17E00 (HOSE, 2ND AIR NO.4)
    This part is currently unavailable.
  • 17
    18448-17E01 hose, 2nd air no.4 MODEL P
    This part is currently unavailable.
  • 18
    18446-17E00 hose, 2nd air no.2,3 Retail: $35.02 Price: $32.92
    Expected to Ship in 4-9 Days
  • 19
    18445-17E00 hose, 2nd air no.1
    This part is currently unavailable.
  • 20
    09401-13417 clamp Supersedes: 09401-13413 (CLIP, UPPER) Price: $3.13
    In Stock
  • 21
    18440-17E00 pipe, 2nd air no.4 MODEL N Retail: $28.48 Price: $26.77
    Expected to Ship in 4-9 Days
  • 21
    18440-17E01 pipe, 2nd air no.4 MODEL P Retail: $30.71 Price: $28.87
    Expected to Ship in 4-9 Days
  • 22
    18410-17E00 pipe, 2nd air no.1 & 3 MODEL N Retail: $50.40 Price: $46.87
    Expected to Ship in 4-9 Days
  • 22
    18410-17E01 pipe, 2nd air no.1 & 3 MODEL P Retail: $29.49 Price: $27.72
    Expected to Ship in 4-9 Days
  • 23
    18420-17E00 pipe, 2nd air no.2 Retail: $33.82 Price: $31.79
    Expected to Ship in 4-9 Days
  • 24
    18441-45C01 gasket 2nd air pipe Supersedes: 18441-45C00 (GASKET, 2ND AIR PIPE) Price: $10.01
    In Stock
  • 25
    01421-0612A bolt,stud Supersedes: 01421-06125 (STUD BOLT) Price: $1.81
    Expected to Ship in 4-9 Days
  • 26
    08316-1006B nut Supersedes: 08316-16064 (NUT) Price: $3.47
    In Stock
  • 27
    44311-17E01 tube, fuel hose Supersedes: 44311-38B02 (PROTECTOR, HOSE) Retail: $22.52 Price: $21.17
    Expected to Ship in 4-9 Days
  • 28
    44552-24B00 molding, hose L:110->70 Retail: $17.90 Price: $16.83
    Expected to Ship in 4-9 Days
  • 29
    09407-18402 clamp Supersedes: 09407-18403 (CLAMP (L:165)) Price: $3.08
    In Stock
  • 30
    18485-17E00 hose, 2nd air valve no.3 MODEL P
    This part is currently unavailable.
  • 31
    Expected to Ship in 4-9 Days
Added to your cart
CLOSE