FMF Exhausts Up To 10% Off Shop Now
CLOSE
Shipping to US Flag United States
Free shipping over $79
Moto Madness Sale | Get Up To 65% Off Parts & Gear Shop Now

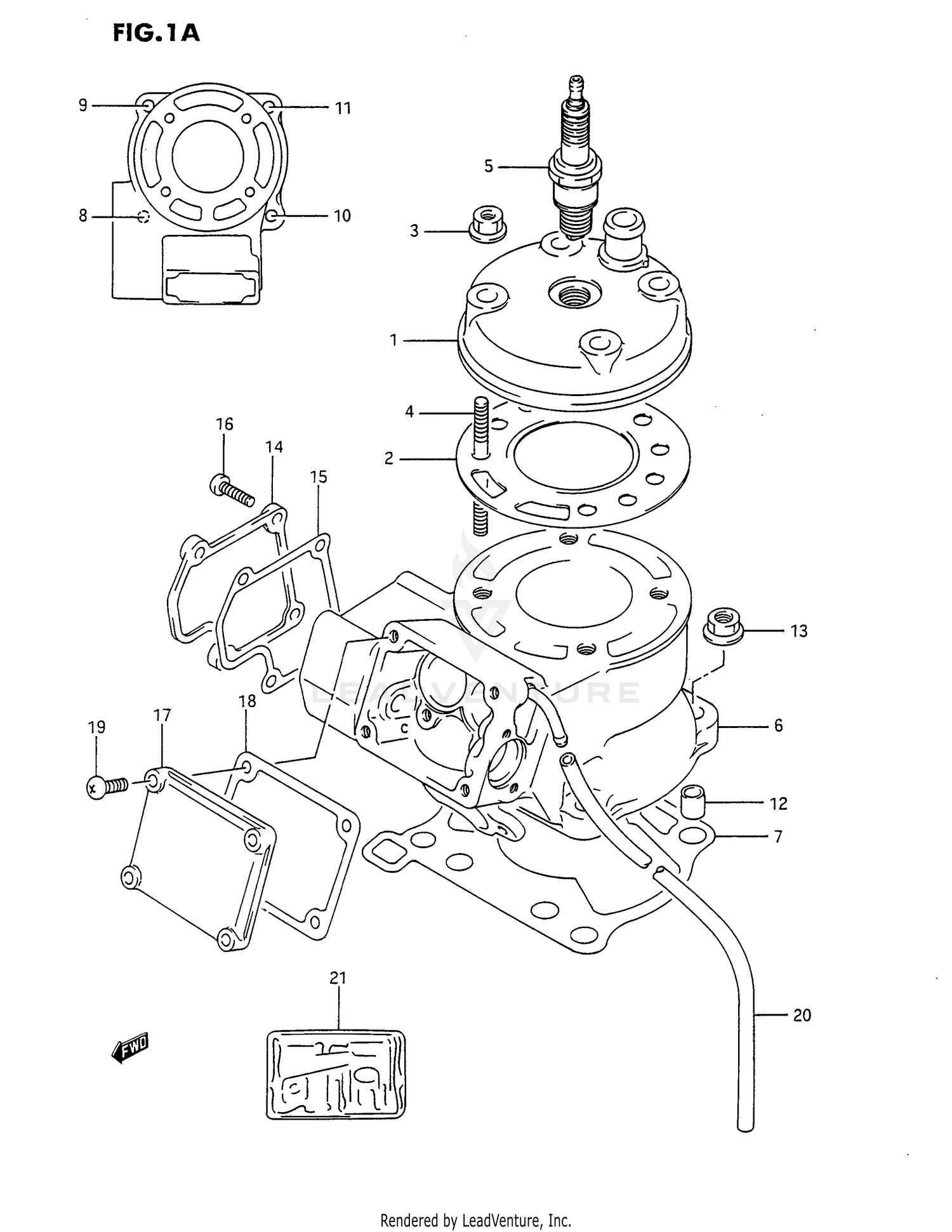
1987 Suzuki RM80S CYLINDER (MODEL K)

Set this as my ride
CYLINDER (MODEL K)

WARNING Cancer and Reproductive Harm www.P65Warnings.ca.gov.

All 1987 Suzuki RM80S Part Groups
Added to your cart
CLOSE