Get Out and Ride | Dialed Gear. Tuned Parts. Dirt Ready. Shop Now
CLOSE
Shipping to US Flag United States
Free shipping over $79
BOGOS | Buy One Get One Deals Shop Now

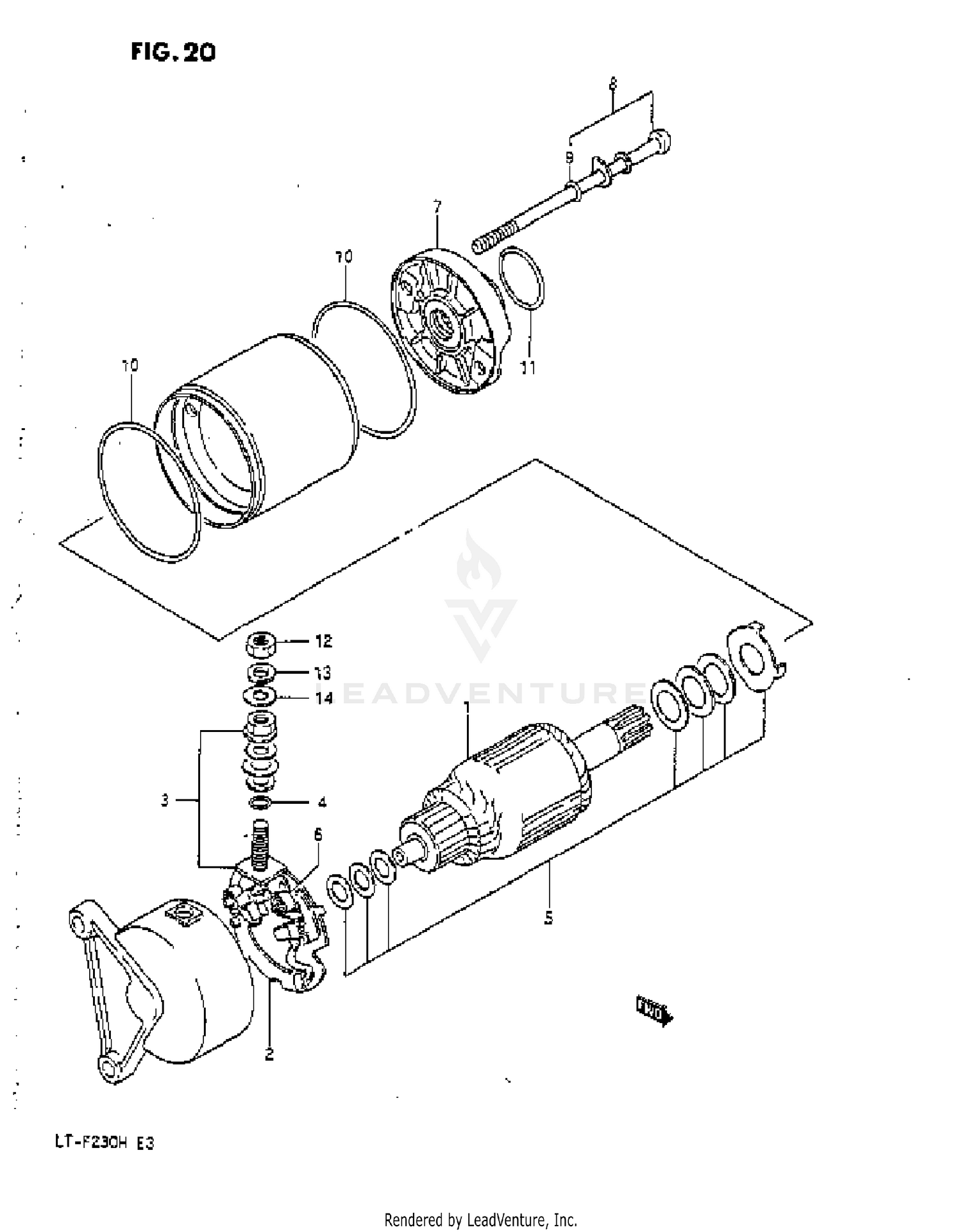
1987 Suzuki LTF230 STARTING MOTOR

Set this as my ride
STARTING MOTOR

WARNING Cancer and Reproductive Harm www.P65Warnings.ca.gov.

  • # Part Retail Our Price
    Stock Status Suggested Quantity
  • 1
    31100-35B00 motor assy, starting MODEL G Supersedes: 31100-18A00 (MOTOR AS'SY, STARTING)
    This part is currently unavailable.
  • 1
    31100-35B00 motor ass'y, starting MODEL H
    This part is currently unavailable.
  • 1
    31311-31300 armature
    This part is currently unavailable.
  • 2
    31132-31300 holder set, brush Retail: $46.27 Price: $43.49
    Expected to Ship in 4-9 Days
  • 3
    31130-31300 terminal set, brush Retail: $47.45 Price: $44.60
    Expected to Ship in 4-9 Days
  • 4
    Expected to Ship in 4-9 Days
  • 5
    31170-31300 shim set Retail: $15.96 Price: $15.00
    Expected to Ship in 4-9 Days
  • 6
    31135-31300 ..spring,brush Retail: $7.25 Price: $3.77
    In Stock
  • 7
    31150-31300 bracket set
    This part is currently unavailable.
  • 8
    31280-31300 bolt set Retail: $16.30 Price: $15.32
    Expected to Ship in 4-9 Days
  • 9
    Expected to Ship in 4-9 Days
  • 10
    31264-32E00 o ring Supersedes: 31264-31300 (O RING) Price: $9.76
    Expected to Ship in 4-9 Days
  • 11
    09280-24003 .o ring (d:3,id:24.5) Supersedes: 09280-24001 (O RING (D:3.1,ID:24.4)) Price: $2.16
    Expected to Ship in 4-9 Days
  • 12
    08310-0006A nut Supersedes: 08310-00063 (NUT) Price: $2.55
    In Stock
  • 13
    08321-0106A lock washer Supersedes: 08321-21064 (WASHER) Price: $2.55
    In Stock
  • 14
    09160-06129 washer (6.5x16x1) Supersedes: 09160-06003 (WASHER) Price: $2.79
    Expected to Ship in 4-9 Days
Added to your cart
CLOSE