LUCKY YOU! Extra 10% Off Clearance | Use Code POTOGOLD10 Limited Time! Ends 3/21 Shop Now
CLOSE
Shipping to US Flag United States
Free shipping over $79
Moto Madness Sale | Get Up To 65% Off Parts & Gear Shop Now

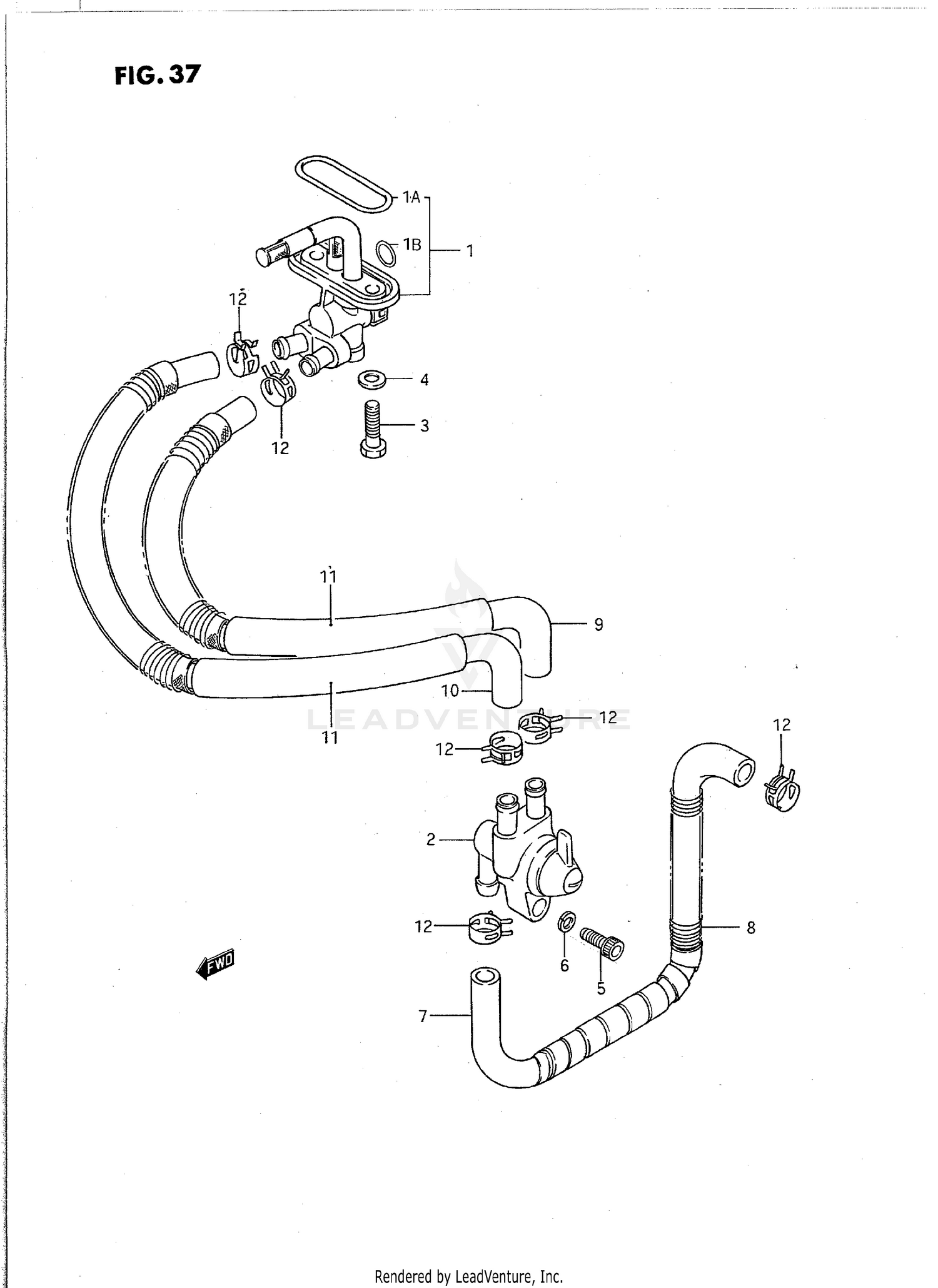
1987 Suzuki INTRUDER 1400 - VS1400GLP FUEL COCK

Set this as my ride
FUEL COCK

WARNING Cancer and Reproductive Harm www.P65Warnings.ca.gov.

  • # Part Retail Our Price
    Stock Status Suggested Quantity
  • 1
    44300-38B03 cock assy,fuel MODEL H/J/L Supersedes: 44300-38B02 (COCK ASSY,FUEL) Retail: $123.29 Price: $104.80
    Expected to Ship in 4-9 Days
  • 1
    44300-38B03 cock assy,fuel MODEL M/N/P/R/S; Includes Item(s) 1A - 1B Supersedes: 44300-38B02 (COCK ASSY,FUEL) Retail: $123.29 Price: $104.80
    Expected to Ship in 4-9 Days
  • 1A
    44348-28071 fuel cock o rin Supersedes: 44348-28070 (O RING, JOINT) Price: $7.18
    In Stock
  • 1B
    44353-12C01 o ring, lever Supersedes: 44353-12C00 (O RING, LEVER) Price: $10.56
    In Stock
  • 2
    44300-38B13 cock assy, fuel no.2 MODEL H/J/L/M/N/P/R Supersedes: 44300-38B10 (COCK ASSY, FUEL NO.2) Retail: $212.60 Price: $180.71
    Expected to Ship in 4-9 Days
  • 2
    44300-38B13 cock assy, fuel no.2 MODEL S Supersedes: 44300-38B12 (COCK ASSY, FUEL NO.2) Retail: $212.60 Price: $180.71
    Expected to Ship in 4-9 Days
  • 3
    09128-06057 bolt Supersedes: 09128-06006 (BOLT) Price: $2.29
    In Stock
  • 4
    In Stock
  • 5
    07130-05127 bolt, fuel cock no.2 MODEL H/J/L/M/N/P/R Price: $3.81
    Expected to Ship in 4-9 Days
  • 5
    07130-0512B bolt MODEL S Supersedes: 07130-05123 (BOLT) Price: $3.52
    Expected to Ship in 4-9 Days
  • 6
    08321-0105A lock washer MODEL H/J/L/M/N/P/R Supersedes: 08321-01053 (LOCK WASHER) Price: $2.55
    In Stock
  • 6
    08321-0105A lock washer MODEL S Supersedes: 08321-01053 (LOCK WASHER) Price: $2.55
    In Stock
  • 7
    44420-38BR0 hose comp,fuel Supersedes: 44420-38BA0 (HOSE, FUEL PUMP & COCK) Retail: $53.66 Price: $49.90
    Expected to Ship in 4-9 Days
  • 8
    09440-14026 spring Retail: $11.35 Price: $11.23
    Expected to Ship in 4-9 Days
  • 9
    44430-38BR0 hose,fuel MODEL H Supersedes: 44430-38B03 (HOSE, FUEL NO.1) Retail: $25.79 Price: $24.24
    In Stock
  • 9
    44430-38BR0 hose,fuel MODEL J/L/M/N/P/R/S Supersedes: 44430-38B03 (HOSE, FUEL NO.1) Retail: $25.79 Price: $24.24
    In Stock
  • 10
    44430-38BR0 hose,fuel MODEL H Supersedes: 44430-38B03 (HOSE, FUEL NO.1) Retail: $25.79 Price: $24.24
    In Stock
  • 10
    44430-38BS0 hose, fuel no.2 MODEL J/L/M/N/P/R Supersedes: 44430-38B12 (HOSE, FUEL NO.2) Retail: $29.31 Price: $27.55
    In Stock
  • 10
    44430-38BR0 hose,fuel MODEL S Supersedes: 44430-38B03 (HOSE, FUEL NO.1) Retail: $25.79 Price: $24.24
    In Stock
  • 10
    44430-38BR0 hose,fuel CALIFORNIA ONLY Supersedes: 44430-38B03 (HOSE, FUEL NO.1) Retail: $25.79 Price: $24.24
    In Stock
  • 11
    44311-17E01 tube, fuel hose MODEL H Supersedes: 44310-38B00 (TUBE, FUEL HOSE) Retail: $22.52 Price: $21.17
    Expected to Ship in 4-9 Days
  • 11
    44311-17E01 tube, fuel hose MODEL J Supersedes: 44311-38B02 (TUBE, FUEL HOSE) Retail: $22.52 Price: $21.17
    Expected to Ship in 4-9 Days
  • 11
    44423-44B00 tube, fuel hose MODEL L/M/N/P/R/S Supersedes: 44423-38B00 (TUBE, FUEL HOSE) Retail: $22.06 Price: $20.74
    In Stock
  • 11
    44311-17E01 tube, fuel hose CALIFORNIA ONLY Supersedes: 44310-38B10 (TUBE, FUEL HOSE) Retail: $22.52 Price: $21.17
    Expected to Ship in 4-9 Days
  • 12
    09401-11415 clip MODEL H/J/L/M/N/P/R Supersedes: 09401-12406 (CLIP) Price: $3.13
    In Stock
  • 12
    09401-11415 clip MODEL S Supersedes: 09401-12406 (CLIP) Price: $3.13
    In Stock
Added to your cart
CLOSE