Kickstart your Riding Season with Bike Prep and Riding Gear Shop Now
CLOSE
Shipping to US Flag United States
Free shipping over $79
Moto Madness Sale | Get Up To 65% Off Parts & Gear Shop Now

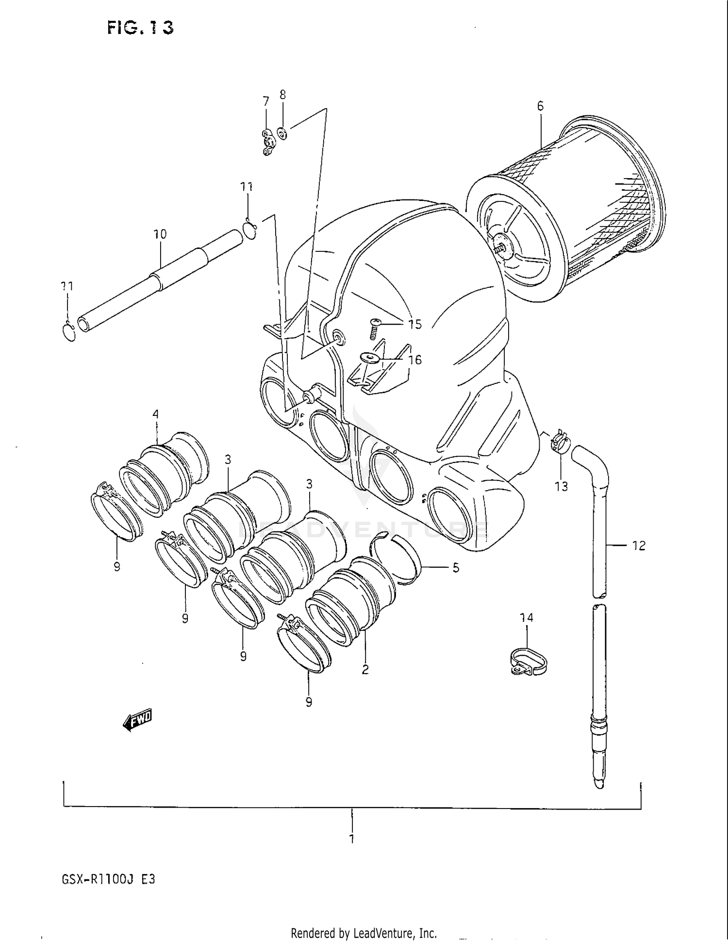
1987 Suzuki GSXR1100 AIR CLEANER

Set this as my ride
AIR CLEANER

WARNING Cancer and Reproductive Harm www.P65Warnings.ca.gov.

  • # Part Retail Our Price
    Stock Status Suggested Quantity
  • 1
    13700-06B00 cleaner assy, air Includes Item(s) 2 - 13
    This part is currently unavailable.
  • 2
    13881-06B01 tube,outlet,l Supersedes: 13881-06B00 (TUBE,OUTLET,L)
    This part is currently unavailable.
  • 3
    13882-06B00 tube, outlet ml, mr
    This part is currently unavailable.
  • 4
    13883-06B00 tube, outlet rh
    This part is currently unavailable.
  • 5
    13885-45450 ring, outlet
    This part is currently unavailable.
  • 6
    13780-06B00 filter Retail: $64.09 Price: $59.60
    Expected to Ship in 4-9 Days
  • 7
    08317-1205A nut Supersedes: 08317-12058 (NUT, WING) Price: $3.08
    Expected to Ship in 4-9 Days
  • 8
    08322-01057 washer Supersedes: 08322-11058 (WASHER) Retail: $2.59 Price: $0.77
    In Stock
  • 9
    09402-56901 clamp Supersedes: 09402-56208 (CLAMP) Price: $7.51
    In Stock
  • 10
    Expected to Ship in 4-9 Days
  • 11
    09401-14301 clip Price: $2.82
    In Stock
  • 12
    13870-21459 tube,drain Supersedes: 13870-21458 (TUBE,DRAIN) Retail: $25.59 Price: $24.05
    Expected to Ship in 4-9 Days
  • 13
    09401-13417 clamp Supersedes: 09401-13413 (CLIP, UPPER) Price: $3.13
    In Stock
  • 14
    13879-27A01 clamp, drain tube
    This part is currently unavailable.
  • 15
    02112-06207 screw Supersedes: 02112-06208 (SCREW) Price: $2.47
    In Stock
  • 16
    09160-06084 washer Supersedes: 09160-06006 (WASHER (6.5X18X1.6)) Price: $2.47
    In Stock
Added to your cart
CLOSE