Kickstart your Riding Season with Bike Prep and Riding Gear Shop Now
CLOSE
Shipping to US Flag United States
Free shipping over $79
Moto Madness Sale | Get Up To 65% Off Parts & Gear Shop Now

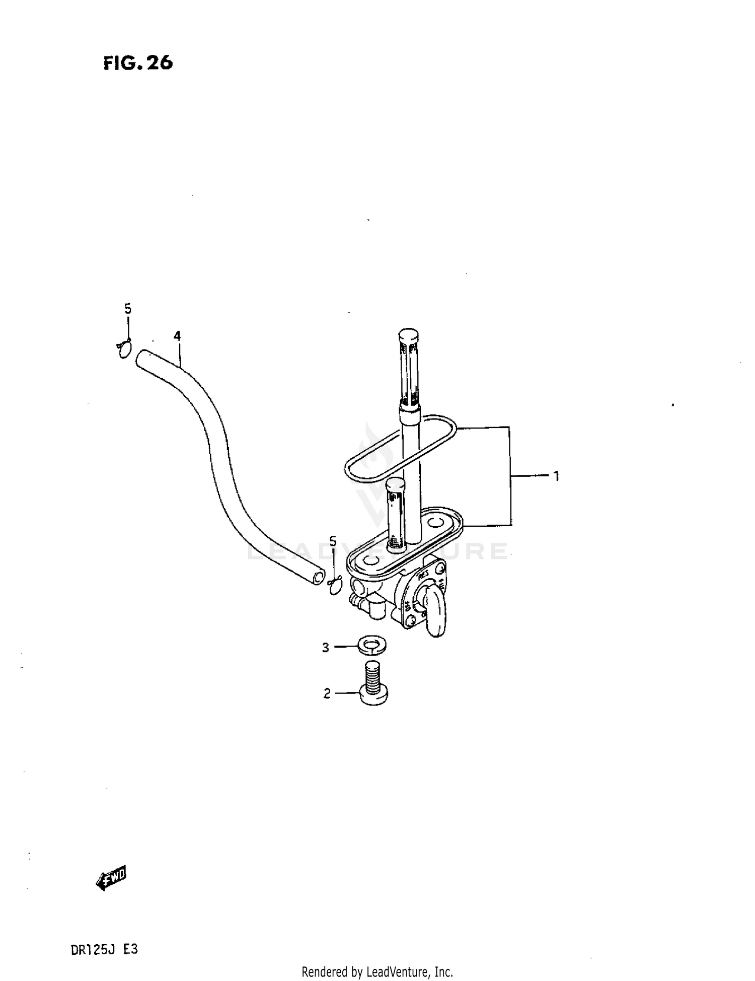
1987 Suzuki DR125 FUEL COCK

Set this as my ride
FUEL COCK

WARNING Cancer and Reproductive Harm www.P65Warnings.ca.gov.

  • # Part Retail Our Price
    Stock Status Suggested Quantity
  • 1
    44300-42A01 cock assy,fuel Supersedes: 44300-42A00 (COCK ASSY, FUEL)
    This part is currently unavailable.
  • 2
    02112-06167 screw Price: $1.99
    Expected to Ship in 4-9 Days
  • 3
    08321-01067 lock washer Supersedes: 08321-21067 (LOCK WASHER) Price: $2.55
    In Stock
  • 4
    44421-13ER0 hose,5x10x600 Supersedes: 09355-50105-600 (HOSE (L:600->140)) Retail: $12.25 Price: $11.52
    In Stock
  • 5
    09401-08401 clip Price: $1.99
    In Stock
Added to your cart
CLOSE