Kickstart your Riding Season with Bike Prep and Riding Gear Shop Now
CLOSE
Shipping to US Flag United States
Free shipping over $79
Fast Cash Week | Earn $10 When you Spend $99 + $25 When You Spend $199 Shop Now

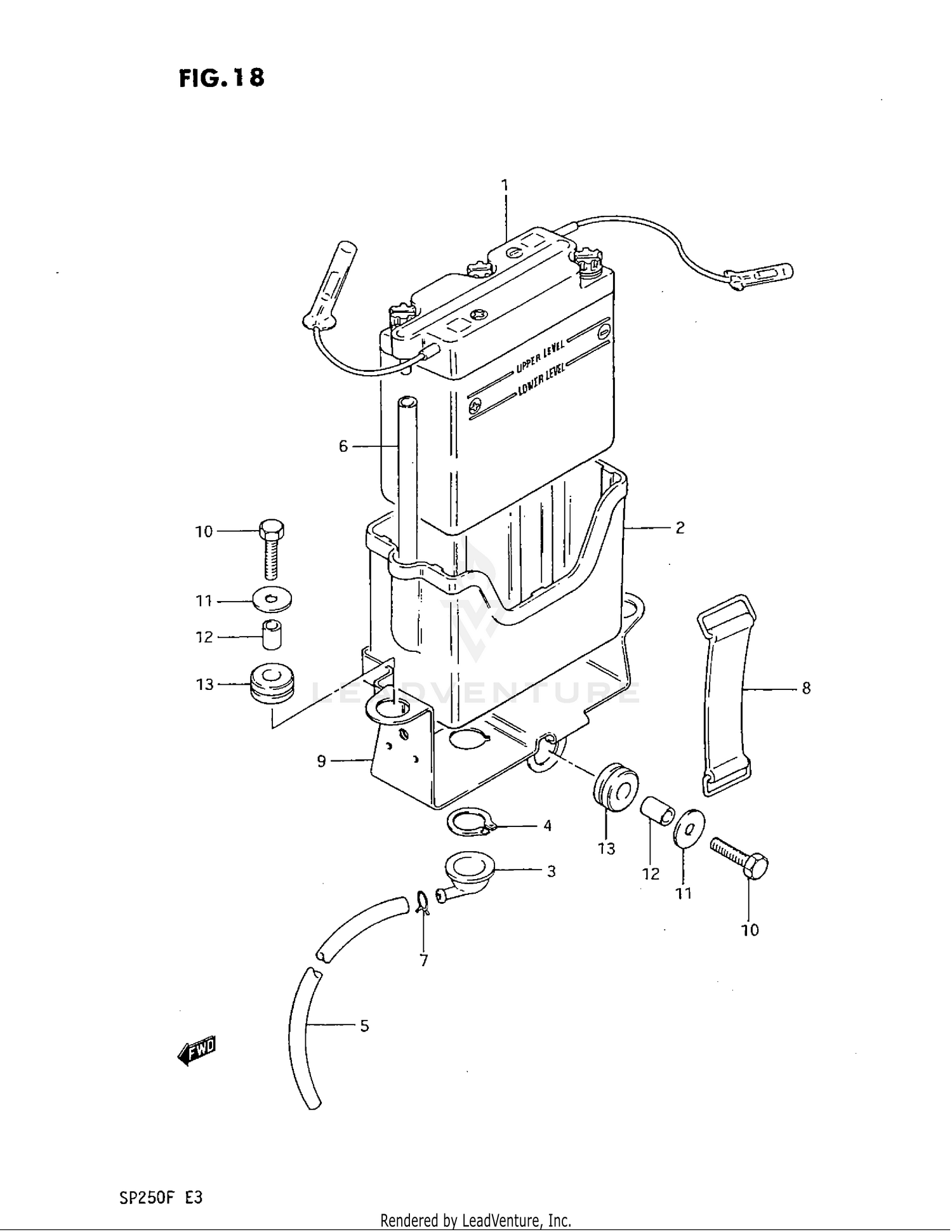
1985 Suzuki SP250 BATTERY

Set this as my ride
BATTERY

WARNING Cancer and Reproductive Harm www.P65Warnings.ca.gov.

  • # Part Retail Our Price
    Stock Status Suggested Quantity
  • 1
    33610-03611 6n4b-2a battery Supersedes: 33610-32620 (BATTERY (6V,4AH))
    This part is currently unavailable.
  • 2
    33661-32400 case, battery
    This part is currently unavailable.
  • 3
    33662-32401 funnel, exhaust
    This part is currently unavailable.
  • 4
    08331-31179 circlip Supersedes: 08331-3117A (CIRCLIP) Price: $2.62
    In Stock
  • 5
    33680-16A11 hose,battery ex Supersedes: 33680-31003 (HOSE, EXHAUST (A)) Price: $8.43
    Expected to Ship in 4-9 Days
  • 6
    33680-16A11 hose,battery ex Supersedes: 33681-47000 (HOSE, EXHAUST (B)) Price: $8.43
    Expected to Ship in 4-9 Days
  • 7
    09401-08301 clip Price: $1.99
    Expected to Ship in 4-9 Days
  • 8
    Expected to Ship in 4-9 Days
  • 9
    41540-38201 holder, battery
    This part is currently unavailable.
  • 10
    01500-06167 bolt, canister Supersedes: 01107-06168 (BOLT) Price: $2.73
    In Stock
  • 11
    09160-06077 washer (6.5x20x1.2) Supersedes: 09160-06027 (WASHER (6.5X20X1.2)) Price: $2.65
    In Stock
  • 12
    Expected to Ship in 4-9 Days
  • 13
    09320-08510 cushion (8.5x20x8) Supersedes: 09320-08007 (CUSHION) Price: $2.36
    In Stock
Added to your cart
CLOSE