Kickstart your Riding Season with Bike Prep and Riding Gear Shop Now
CLOSE
Shipping to US Flag United States
Free shipping over $79
Moto Madness Sale | Get Up To 65% Off Parts & Gear Shop Now

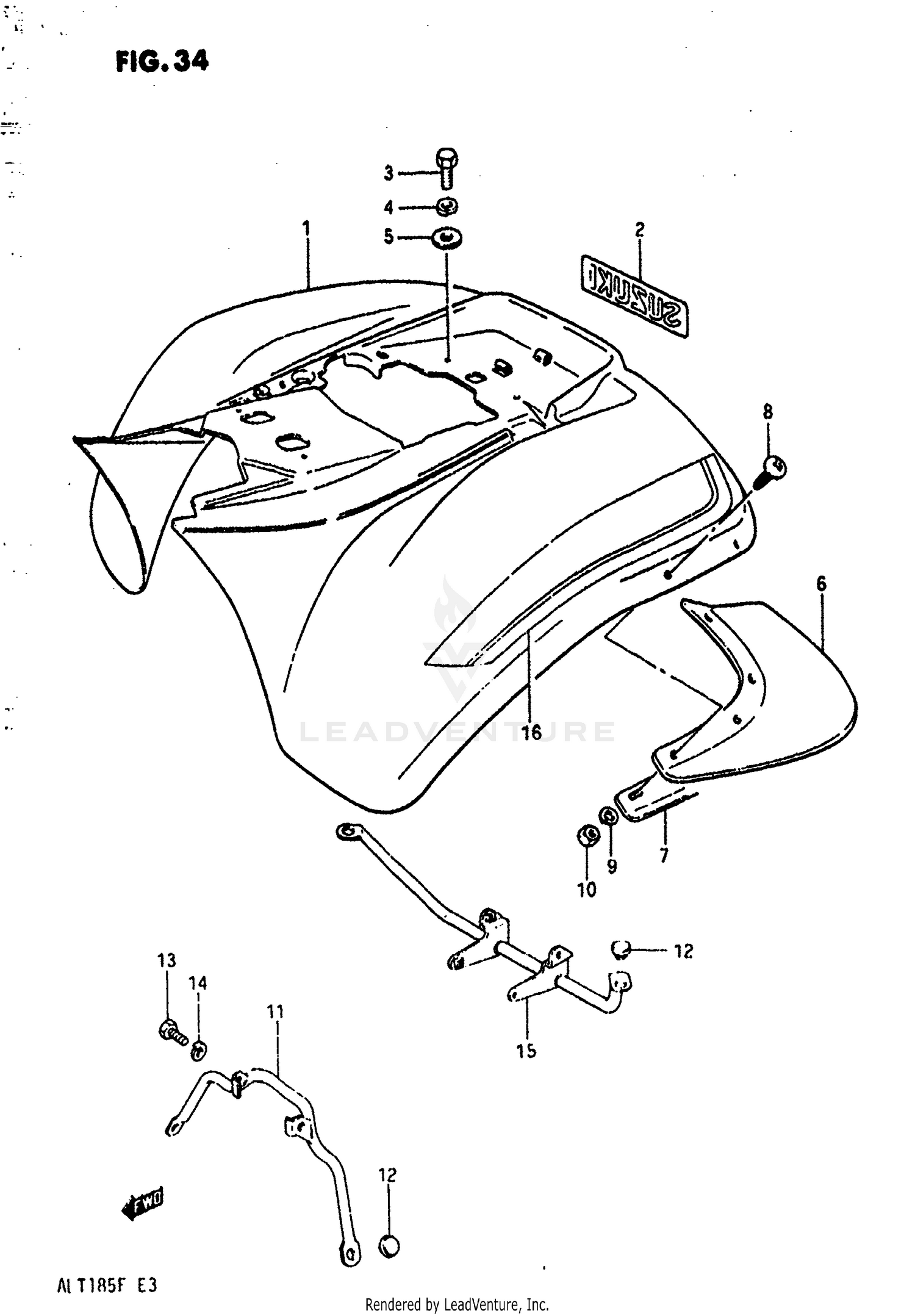
1985 Suzuki ALT185 REAR FENDER

Set this as my ride
REAR FENDER

WARNING Cancer and Reproductive Harm www.P65Warnings.ca.gov.

  • # Part Retail Our Price
    Stock Status Suggested Quantity
  • 1
    63111-24305-25G fender, rear (winning orange) Supersedes: 63111-24305-00N (FENDER, REAR (ORANGE))
    This part is currently unavailable.
  • 2
    68112-18901-7ZP emblem Supersedes: 68112-18901-94A (EMBLEM)
    This part is currently unavailable.
  • 3
    01500-06127 bolt Supersedes: 01107-06127 (BOLT, FENDER CENTER & REAR) Price: $2.73
    Expected to Ship in 4-9 Days
  • 4
    08321-01067 lock washer Supersedes: 08321-21067 (LOCK WASHER) Price: $2.55
    In Stock
  • 5
    09160-06084 washer Supersedes: 09160-06006 (WASHER (6.5X18X1.6)) Price: $2.47
    In Stock
  • 6
    63331-24300 mud guard, rear fender
    This part is currently unavailable.
  • 7
    63332-24300 plate, mud guard
    This part is currently unavailable.
  • 8
    02142-06167 screw Price: $1.90
    In Stock
  • 9
    08321-01067 lock washer Supersedes: 08321-21067 (LOCK WASHER) Price: $2.55
    In Stock
  • 10
    08310-00067 .nut Supersedes: 08310-22067 (NUT) Price: $2.55
    In Stock
  • 11
    63120-24301 reinforcement, front Retail: $35.22 Price: $33.11
    Expected to Ship in 4-9 Days
  • 12
    09250-12016 cap (od:20) Supersedes: 09250-12006 (CUSHION) Retail: $2.32 Price: $0.77
    In Stock
  • 13
    01500-0612A bolt Supersedes: 01107-06125 (BOLT) Price: $2.51
    In Stock
  • 14
    08321-0106A lock washer Supersedes: 08321-21064 (WASHER) Price: $2.55
    In Stock
  • 15
    63130-18901 reinforcement, rear Retail: $47.47 Price: $44.62
    Expected to Ship in 4-9 Days
  • 16
    68170-24400-96Z tape set
    This part is currently unavailable.
Added to your cart
CLOSE