BOGOS | Buy One Get One Deals Shop Now
CLOSE
Shipping to US Flag United States
Free shipping over $79
Fast Cash Week | Earn $25 Fast Cash When You Spend $199 Learn More

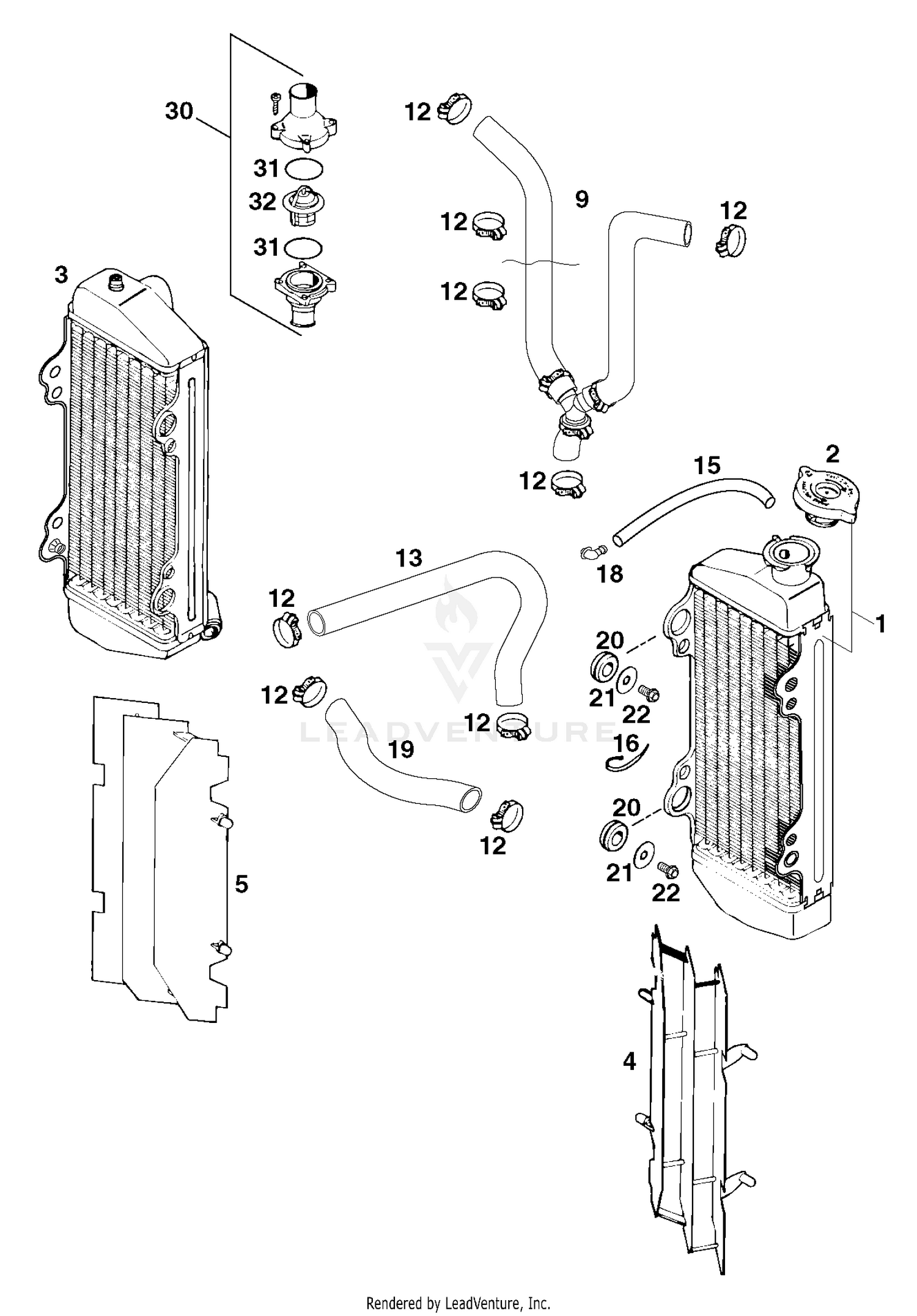
1998 KTM 250EXC Cooling System

Set this as my ride
Cooling System

WARNING Cancer and Reproductive Harm www.P65Warnings.ca.gov.

  • # Part Retail Our Price
    Stock Status Suggested Quantity
  • 1
    50335007100 radiator l/s Supersedes: 50335007000 (RADIATOR L/S NATURE (45286)98)
    This part is currently unavailable.
  • 2
    58035016000 radiator cap small 20,3 psi Retail: $30.24 Price: $25.70
    Usually ships in 5-7 business days.
  • 3
    54735008000 radiator r/s nature (45287)'98
    This part is currently unavailable.
  • 4
    54635034200 radiator protection left '95 Retail: $10.00 Price: $8.50
    Usually ships in 5-7 business days.
  • 5
    Usually ships in 5-7 business days.
  • 9
    50335026000 radiator hose cpl. 125-380'98
    This part is currently unavailable.
  • 12
    0310000902900 hose clip 18-29 Supersedes: 10001020000 (HOSE CLAMP GEMI 18-29) Price: $2.99
    In Stock
  • 13
    54735027000 radiator hose 18x25 250-380'98
    This part is currently unavailable.
  • 15
    Usually ships in 5-7 business days.
  • 16
    44011076200 cable tie 200/3,6mm black
    This part is currently unavailable.
  • 18
    In Stock
  • 19
    54735025000 radiator hose 18x25 250-380'98
    This part is currently unavailable.
  • 20
    In Stock
  • 21
    51006097000 washer 6,2x22x1,st30,w.galv.
    This part is currently unavailable.
  • 22
    0025060126 hh collar screw m6x12 tx30 Supersedes: 0912060123 (HH COLLAR SCREW M6X 12 TX30) Price: $3.99
    In Stock
  • 30
    54635013144 thermostatcase cpl. 55deg. '98
    This part is currently unavailable.
  • 31
    In Stock
  • 32
    54635017000 thermostat 55 degrees '94
    This part is currently unavailable.
Added to your cart
CLOSE