LUCKY YOU! Extra 10% Off Clearance | Use Code POTOGOLD10 Limited Time! Ends 3/21 Shop Now
CLOSE
Shipping to US Flag United States
Free shipping over $79
My Ride: 2005 Kawasaki KX100
Moto Madness Sale | Get Up To 65% Off Parts & Gear Shop Now

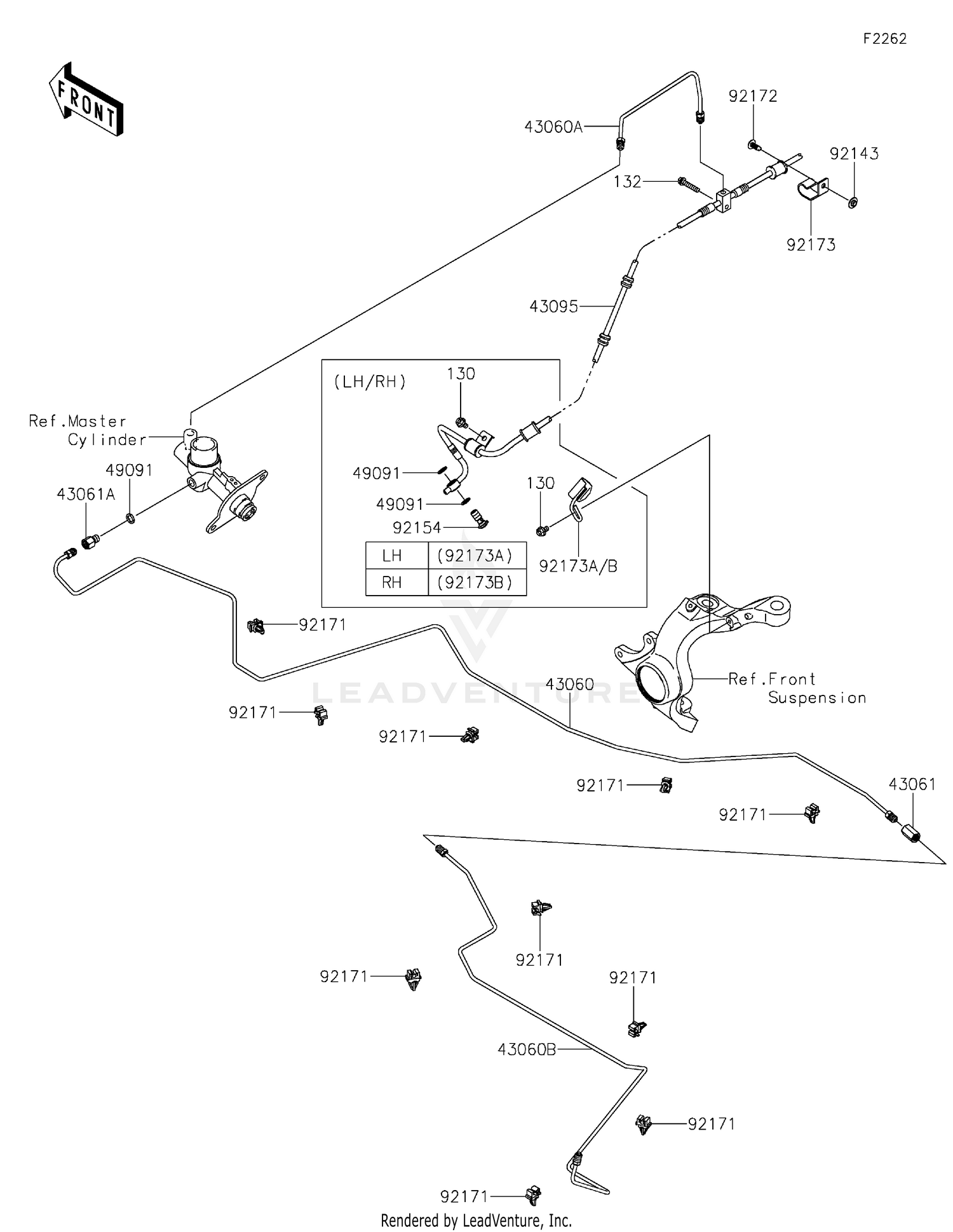
2023 Kawasaki TERYX (KRF800FPFNN) Brake Piping 2

Set this as my ride
Brake Piping 2

WARNING Cancer and Reproductive Harm www.P65Warnings.ca.gov.

All 2023 Kawasaki TERYX (KRF800FPFNN) Part Groups
Added to your cart
CLOSE