LUCKY YOU! Extra 10% Off Clearance | Use Code POTOGOLD10 Limited Time! Ends 3/18 Shop Now
CLOSE
Shipping to US Flag United States
Free shipping over $79
My Ride: 2012 Triumph Scrambler
Moto Madness Sale | Get Up To 65% Off Parts & Gear Shop Now

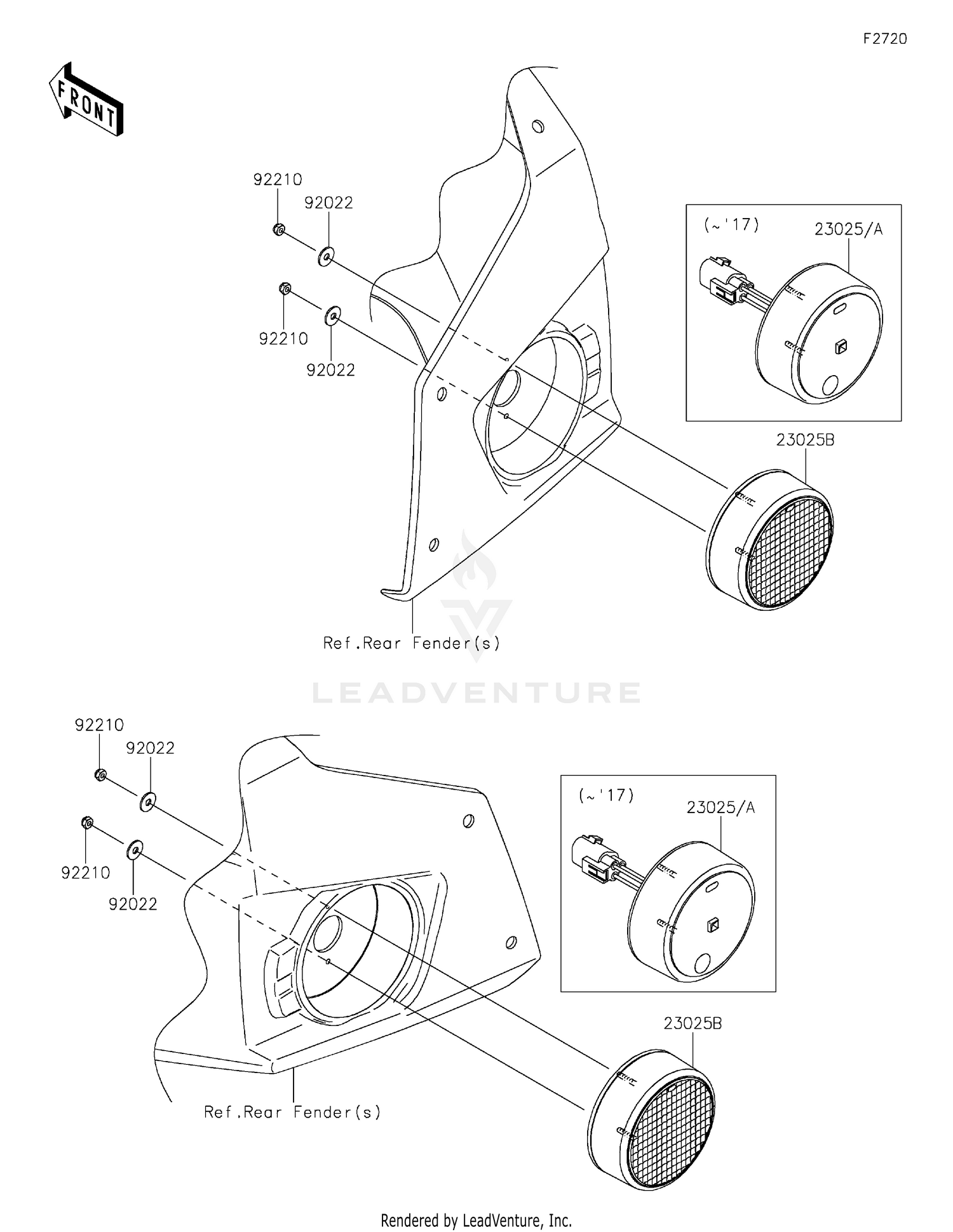
2017 Kawasaki TERYX4 CAMO (KRT800HHF) Taillight(s)

Set this as my ride
Taillight(s)

WARNING Cancer and Reproductive Harm www.P65Warnings.ca.gov.

  • # Part Retail Our Price
    Stock Status Suggested Quantity
  • 23025
    23025-0356 lamp-tail Supersedes: 23025-0303 (LAMP-TAIL) Retail: $139.61 Price: See price in cart
    Expected to Ship in 4-9 Days
  • 23025A
    23025-0356 lamp-tail Retail: $139.61 Price: See price in cart
    Expected to Ship in 4-9 Days
  • 23025B
    23025-0364 lamp-tail Retail: $134.67 Price: See price in cart
    Expected to Ship in 4-9 Days
  • 92022
    In Stock
  • 92210
    92210-0722 nut Price: $0.49
    Expected to Ship in 4-9 Days
Added to your cart
CLOSE