Get Out and Ride | Dialed Gear. Tuned Parts. Dirt Ready. Shop Now
CLOSE
Shipping to US Flag United States
Free shipping over $79
My Ride: 2006 Yamaha BLASTER
BOGOS | Buy One Get One Deals Shop Now

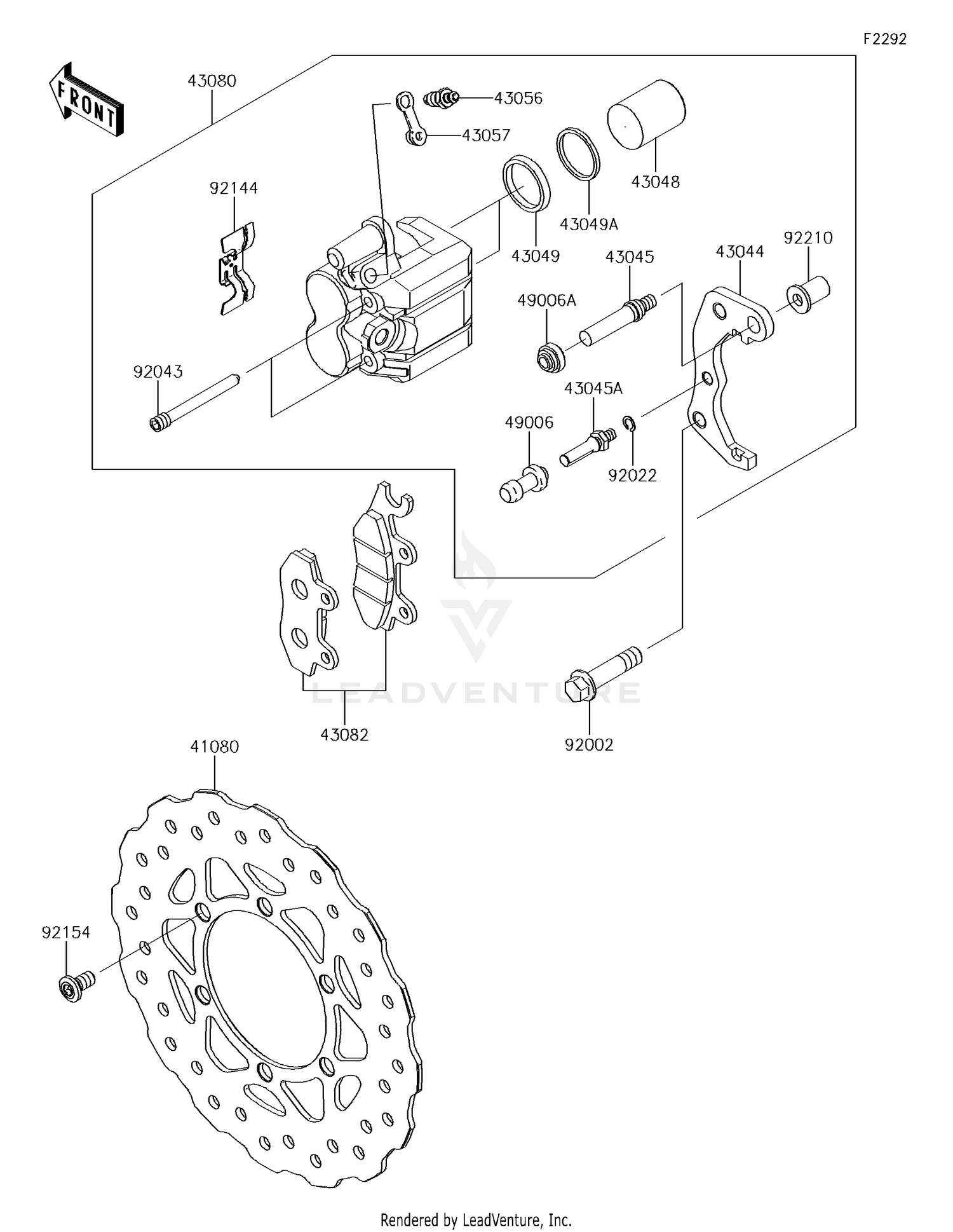
2017 Kawasaki KLX150BF Front Brake

Set this as my ride
Front Brake

WARNING Cancer and Reproductive Harm www.P65Warnings.ca.gov.

Added to your cart
CLOSE