Kickstart your Riding Season with Bike Prep and Riding Gear Shop Now
CLOSE
Shipping to US Flag United States
Free shipping over $79
Moto Madness Sale | Get Up To 65% Off Parts & Gear Shop Now

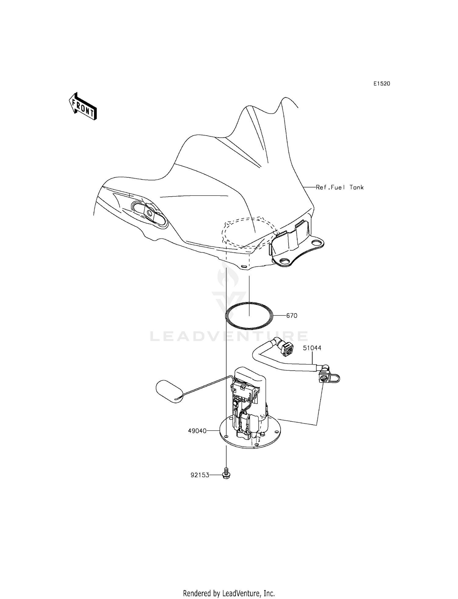
2015 Kawasaki NINJA 300 (ABS) FUEL PUMP

Set this as my ride
FUEL PUMP

WARNING Cancer and Reproductive Harm www.P65Warnings.ca.gov.

  • # Part Retail Our Price
    Stock Status Suggested Quantity
  • 670
    670E5075 o ring Retail: $23.16 Price: See price in cart
    In Stock
  • 49040
    49040-0713 pump-fuel Retail: $391.34 Price: See price in cart
    Expected to Ship in 4-9 Days
  • 51044
    51044-0852 tube-assy,fuel Supersedes: 51044-0721 (TUBE-ASSY,FUEL) Retail: $80.00 Price: See price in cart
    Expected to Ship in 4-9 Days
  • 92153
    92154-1848 bolt,flanged,6x12 Supersedes: 92153-1295 (BOLT,FLANGED,6X12) Price: $2.05
    Expected to Ship in 4-9 Days
Added to your cart
CLOSE