Kickstart your Riding Season with Bike Prep and Riding Gear Shop Now
CLOSE
Shipping to US Flag United States
Free shipping over $79
Moto Madness Sale | Get Up To 65% Off Parts & Gear Shop Now

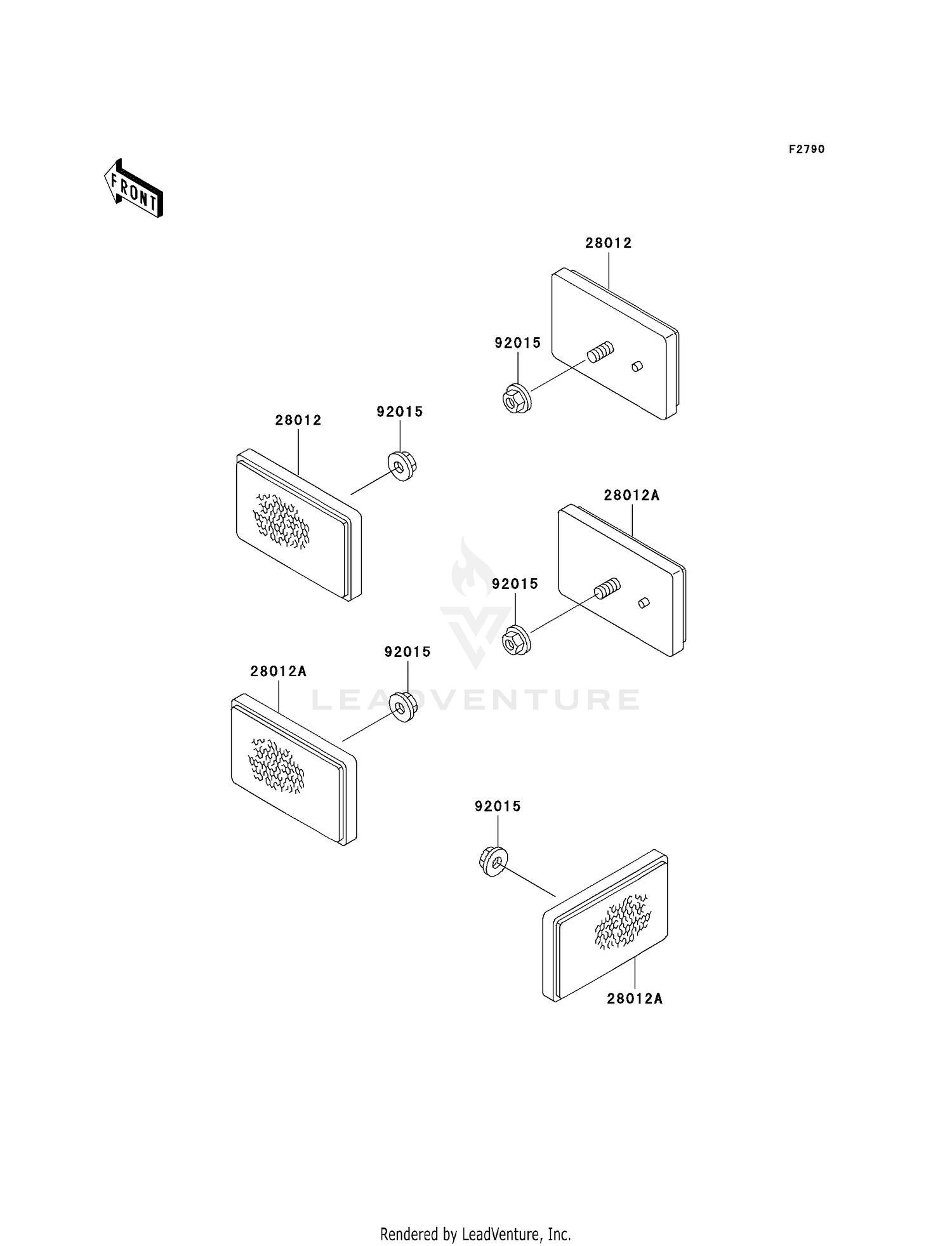
2007 Kawasaki PRAIRIE 360 4X4 REFLECTORS (CN)

Set this as my ride
REFLECTORS (CN)

WARNING Cancer and Reproductive Harm www.P65Warnings.ca.gov.

  • # Part Retail Our Price
    Stock Status Suggested Quantity
  • 28012
    28012-1003 reflector-reflex [CN]
    This part is currently unavailable.
  • 28012A
    28012-1088 reflector-reflex [CN] Supersedes: 28012-1078 (REFLECTOR-REFLEX) Retail: $22.46 Price: See price in cart
    Expected to Ship in 4-9 Days
  • 92015
    In Stock
Added to your cart
CLOSE