Kickstart your Riding Season with Bike Prep and Riding Gear Shop Now
CLOSE
Shipping to US Flag United States
Free shipping over $79
Moto Madness Sale | Get Up To 65% Off Parts & Gear Shop Now

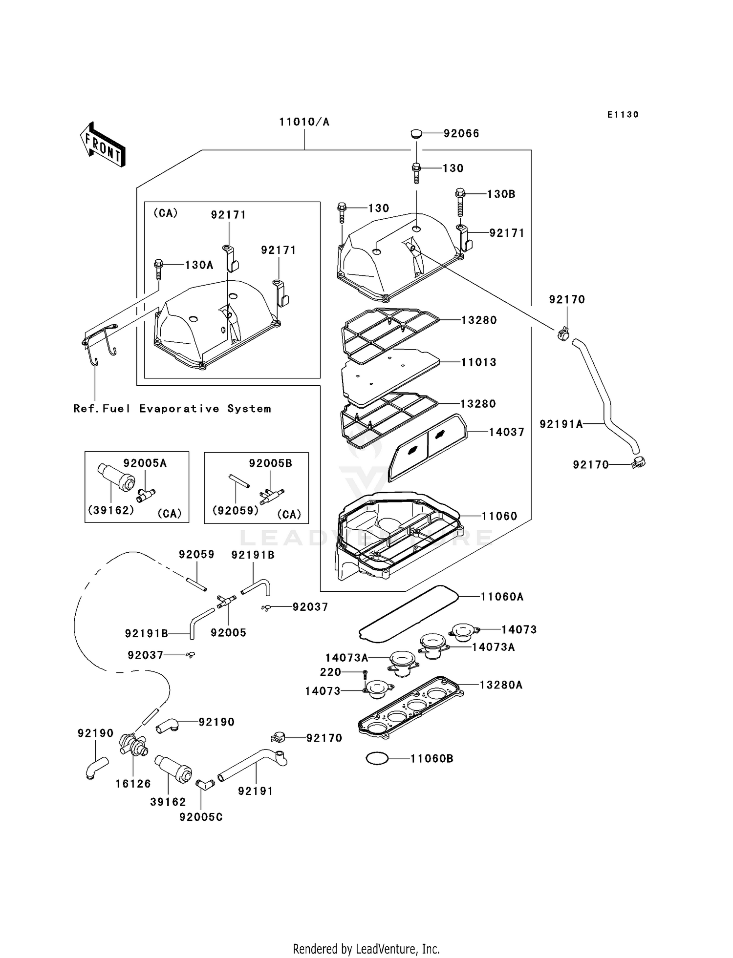
2002 Kawasaki ZX6R AIR CLEANER

Set this as my ride
AIR CLEANER

WARNING Cancer and Reproductive Harm www.P65Warnings.ca.gov.

  • # Part Retail Our Price
    Stock Status Suggested Quantity
  • 130
    130BA0625 bolt-flanged,6x25 [CA] Supersedes: 130H0625 (BOLT-FLANGED,6X25) Price: $1.38
    In Stock
  • 130
    130BA0625 bolt-flanged,6x25 [CN,US] Supersedes: 130H0625 (BOLT-FLANGED,6X25) Price: $1.38
    In Stock
  • 130A
    130BA0630 bolt-flanged,6x30 [CA] Supersedes: 130H0630 (BOLT-FLANGED,6X30) Price: $1.68
    In Stock
  • 130B
    130BA0645 bolt-flanged Supersedes: 130G0645 (BOLT-FLANGED,6X45) Retail: $1.66 Price: $0.77
    In Stock
  • 220
    220AA0520 screw-pan-cros Supersedes: 220B0520 (SCREW-PAN-CROS) Retail: $1.19 Price: $0.77
    In Stock
  • 11010
    11010-1736 filter-assy-air [CN,US] Supersedes: 11010-1634 (FILTER-ASSY-AIR) Retail: $209.27 Price: See price in cart
    Expected to Ship in 4-9 Days
  • 11010A
    11010-1737 filter-assy-air [CA] Retail: $209.27 Price: See price in cart
    Expected to Ship in 4-9 Days
  • 11013
    11013-1274 element-air filter Retail: $33.58 Price: See price in cart
    Expected to Ship in 4-9 Days
  • 11060
    11060-1845 gasket,air filter Retail: $13.63 Price: $12.54
    Expected to Ship in 4-9 Days
  • 11060A
    11060-1846 gasket,air filter Retail: $13.63 Price: $12.54
    Expected to Ship in 4-9 Days
  • 11060B
    Expected to Ship in 4-9 Days
  • 13280
    13280-1072 holder,air filter ele Retail: $19.04 Price: $17.52
    Expected to Ship in 4-9 Days
  • 13280A
    13280-1203 holder,air filter
    This part is currently unavailable.
  • 14037
    14037-1193 screen,air filter Retail: $28.64 Price: See price in cart
    Expected to Ship in 4-9 Days
  • 14073
    14073-1715 duct,#1 Retail: $37.59 Price: See price in cart
    Expected to Ship in 4-9 Days
  • 14073A
    14073-1716 duct,#2
    This part is currently unavailable.
  • 16126
    16126-1361 valve Retail: $203.78 Price: See price in cart
    Expected to Ship in 4-9 Days
  • 39162
    39162-1091 silencer-intake Retail: $72.85 Price: See price in cart
    Expected to Ship in 4-9 Days
  • 92005
    92005-1017 fitting,tube,t-type [CN,US]
    This part is currently unavailable.
  • 92005A
    92005-1252 fitting,t-type [CA] Retail: $10.78 Price: $9.92
    Expected to Ship in 4-9 Days
  • 92005B
    92005-1307 fitting [CA]
    This part is currently unavailable.
  • 92005C
    92005-1309 fitting [CN,US]
    This part is currently unavailable.
  • 92037
    92037-1712 clamp Price: $5.75
    In Stock
  • 92059
    92059-1916 tube,4x9x935,white Supersedes: 92059-1131 (TUBE,4X9X935,WHITE) Retail: $19.09 Price: $17.56
    Expected to Ship in 4-9 Days
  • 92066
    92066-1389 plug Price: $4.90
    Expected to Ship in 4-9 Days
  • 92170
    92170-1060 clamp Price: $9.32
    Expected to Ship in 4-9 Days
  • 92171
    92171-1230 clamp [CN,US] Price: $5.07
    Expected to Ship in 4-9 Days
  • 92171
    92171-1230 clamp [CA] Price: $5.07
    Expected to Ship in 4-9 Days
  • 92190
    92190-1581 tube,air filter-valve
    This part is currently unavailable.
  • 92191
    92191-1230 tube,air filter-switc
    This part is currently unavailable.
  • 92191A
    92191-1242 tube,blowby
    This part is currently unavailable.
  • 92191B
    92191-1262 tube Price: $4.14
    Expected to Ship in 4-9 Days
Added to your cart
CLOSE