Kickstart your Riding Season with Bike Prep and Riding Gear Shop Now
CLOSE
Shipping to US Flag United States
Free shipping over $79
Fast Cash Week | Earn $10 When you Spend $99 + $25 When You Spend $199 Shop Now

2000 Kawasaki KX60 ACCESSORY

Set this as my ride
ACCESSORY

WARNING Cancer and Reproductive Harm www.P65Warnings.ca.gov.

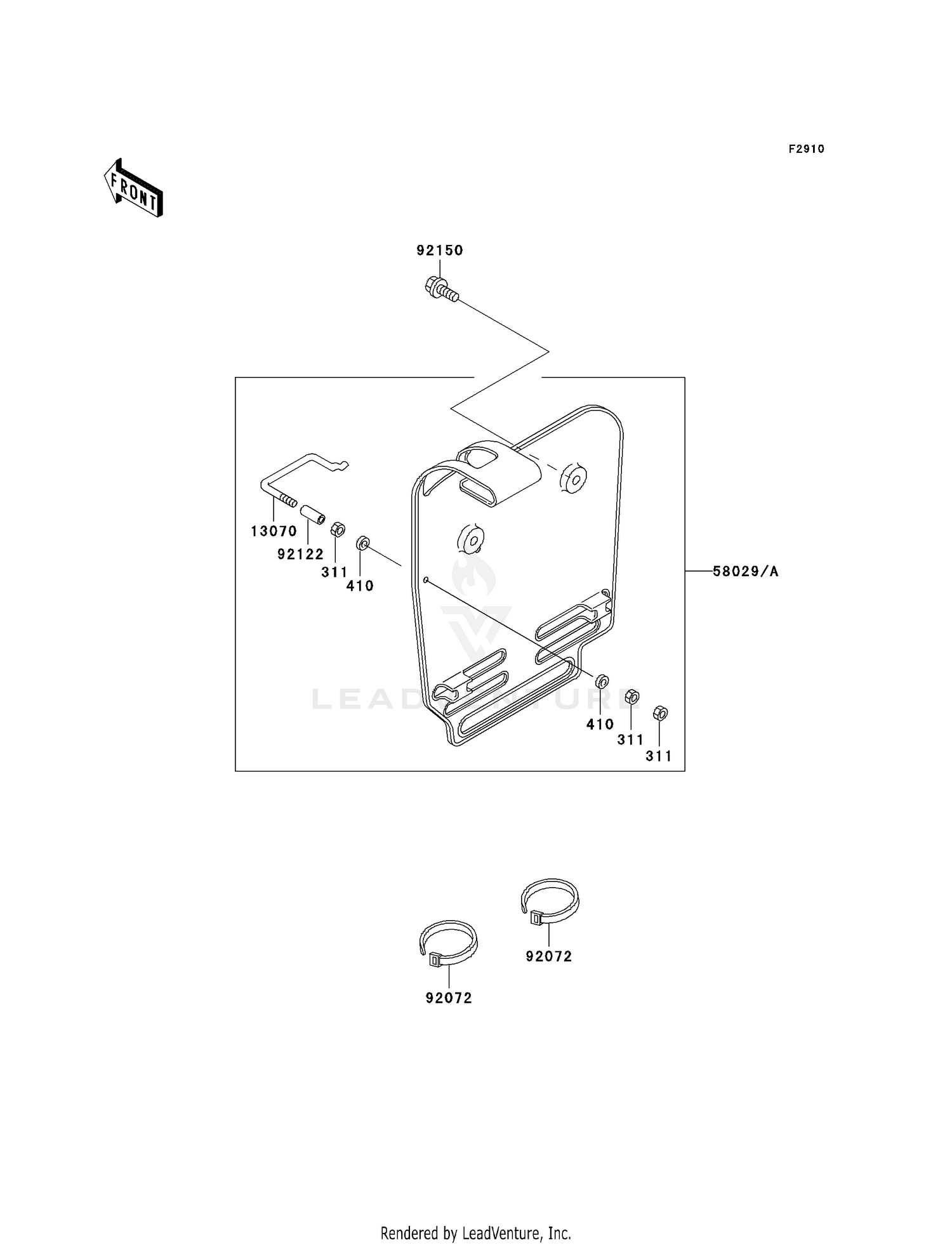
  • # Part Retail Our Price
    Stock Status Suggested Quantity
  • 311
    311AA0300 nut-hex Supersedes: 311B0300 (NUT-HEX) Price: $0.70
    Expected to Ship in 4-9 Days
  • 410
    410AA0300 w-plain-s Supersedes: 410B0300 (W-PLAIN-S) Price: $1.54
    Expected to Ship in 4-9 Days
  • 13070
    13070-1031 guide,cable
    This part is currently unavailable.
  • 58029A
    58029-1054-6F plate-number,p.white
    This part is currently unavailable.
  • 92072
    Expected to Ship in 4-9 Days
  • 92122
    92122-1011 roller,cable guide
    This part is currently unavailable.
  • 92150
    92150-1340 bolt,6x14
    This part is currently unavailable.
Added to your cart
CLOSE