LUCKY YOU! Extra 10% Off Clearance | Use Code POTOGOLD10 Limited Time! Ends 3/21 Shop Now
CLOSE
Shipping to US Flag United States
Free shipping over $79
Moto Madness Sale | Get Up To 65% Off Parts & Gear Shop Now

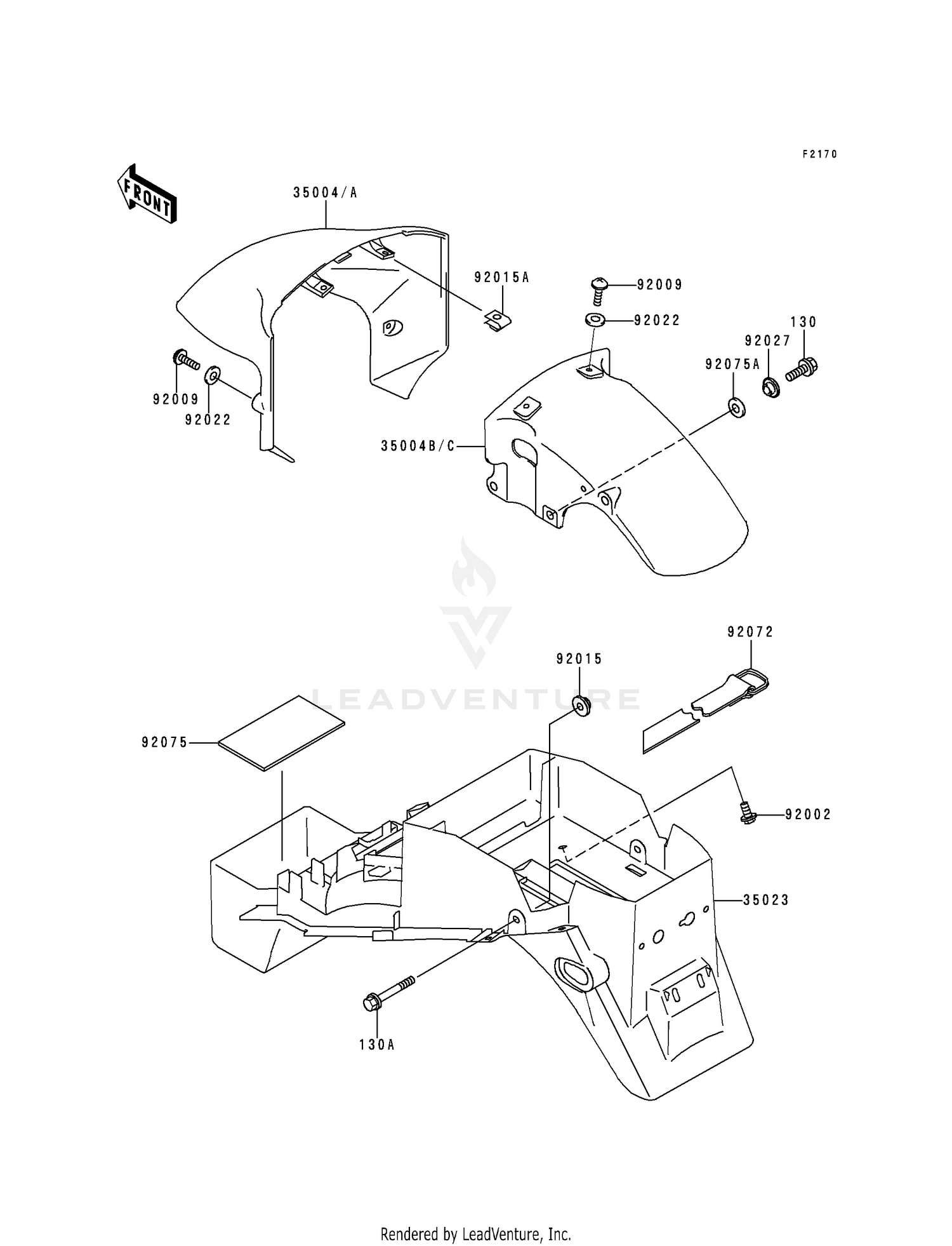
1997 Kawasaki ZX-9R FENDERS

Set this as my ride
FENDERS

WARNING Cancer and Reproductive Harm www.P65Warnings.ca.gov.

  • # Part Retail Our Price
    Stock Status Suggested Quantity
  • 130
    130BA0616 bolt-flanged,6x16 Supersedes: 130H0616 (BOLT-FLANGED,6X16) Price: $1.38
    In Stock
  • 130A
    130CB0640 bolt-flanged Supersedes: 130S0640 (BOLT-FLANGED) Price: $6.19
    Expected to Ship in 4-9 Days
  • 35004
    35004-1320-B1 fender-front,fr,f.red
    This part is currently unavailable.
  • 35004A
    35004-1320-7F fender-front,fr,l.gre
    This part is currently unavailable.
  • 35004B
    35004-1321-B1 fender-front,rr,f.red
    This part is currently unavailable.
  • 35004C
    35004-1321-7F fender-front,rr,l.gre
    This part is currently unavailable.
  • 35023
    35023-1365 fender-rear
    This part is currently unavailable.
  • 92002
    Expected to Ship in 4-9 Days
  • 92009
    In Stock
  • 92015
    92015-1321 nut Retail: $11.91 Price: $10.96
    Expected to Ship in 4-9 Days
  • 92015A
    Expected to Ship in 4-9 Days
  • 92022
    In Stock
  • 92027
    92027-1667 collar,cowling stay Retail: $11.25 Price: $10.35
    Expected to Ship in 4-9 Days
  • 92072
    92072-1314 band,l=460
    This part is currently unavailable.
  • 92075
    92075-1076 damper Price: $10.19
    Expected to Ship in 4-9 Days
  • 92075A
    92075-1564 damper Price: $6.30
    Expected to Ship in 4-9 Days
Added to your cart
CLOSE