Kickstart your Riding Season with Bike Prep and Riding Gear Shop Now
CLOSE
Shipping to US Flag United States
Free shipping over $79
Moto Madness Sale | Get Up To 65% Off Parts & Gear Shop Now

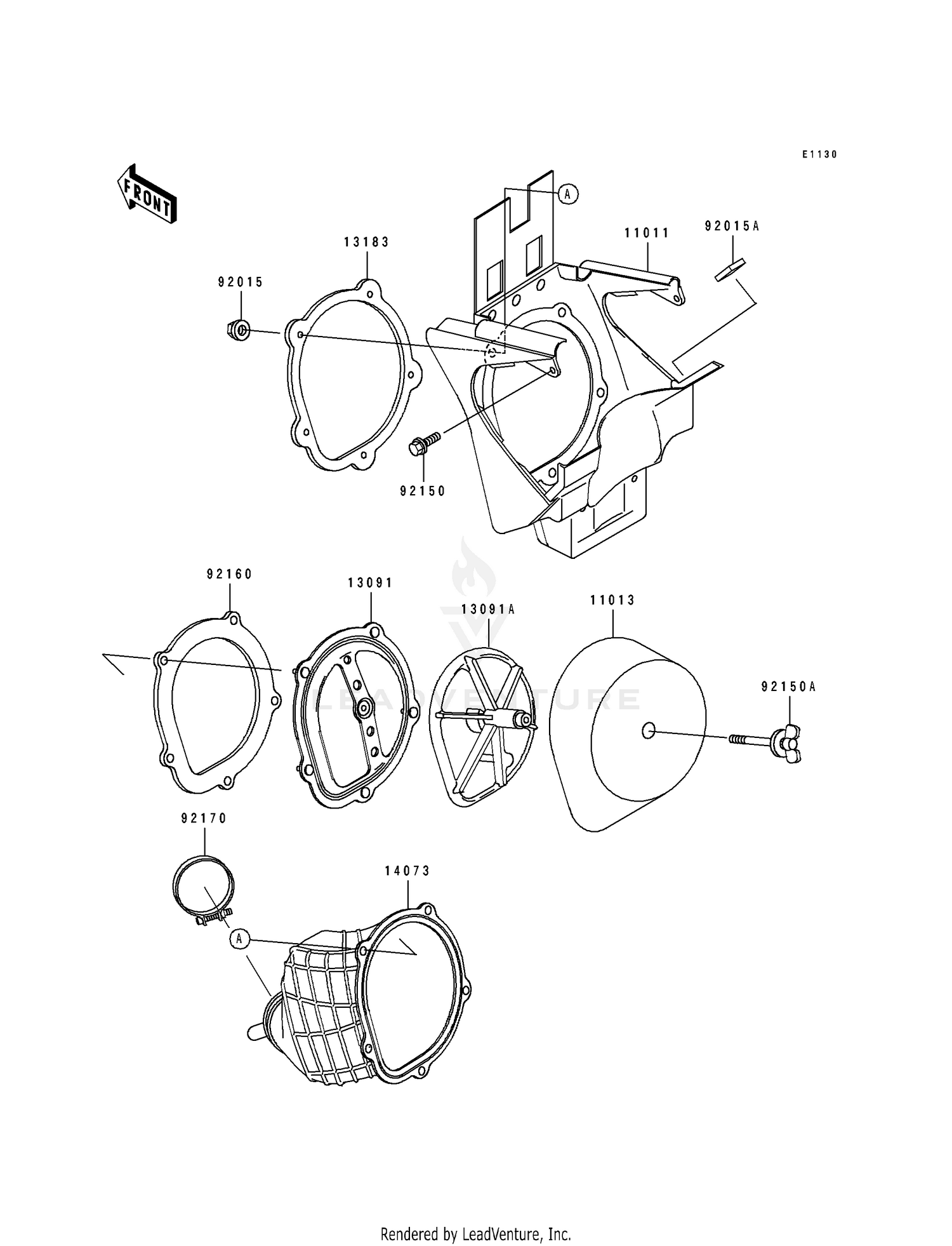
1997 Kawasaki KX125 AIR CLEANER

Set this as my ride
AIR CLEANER

WARNING Cancer and Reproductive Harm www.P65Warnings.ca.gov.

  • # Part Retail Our Price
    Stock Status Suggested Quantity
  • 11011
    11011-1534-RG case-air filter,s.gra Supersedes: 11011-1472-RG (CASE-AIR FILTER,S.GRA)
    This part is currently unavailable.
  • 11013
    11013-1264 element-air filter Supersedes: 11013-1203 (ELEMENT-AIR FILTER) Retail: $61.01 Price: See price in cart
    Expected to Ship in 4-9 Days
  • 13091
    13091-1664 holder
    This part is currently unavailable.
  • 13091A
    13091-1708 holder,element Retail: $48.82 Price: See price in cart
    In Stock
  • 13183
    13183-1530 plate,duct fitting Retail: $24.55 Price: See price in cart
    Expected to Ship in 4-9 Days
  • 14073
    14073-1612 duct,air filter
    This part is currently unavailable.
  • 92015
    Expected to Ship in 4-9 Days
  • 92015A
    92015-1918 nut
    This part is currently unavailable.
  • 92150
    In Stock
  • 92150A
    In Stock
  • 92160
    92160-1196 damper,duct seal Retail: $30.84 Price: See price in cart
    In Stock
  • 92170
    92171-1563 clamp Supersedes: 92170-1526 (CLAMP) Retail: $12.95 Price: $11.91
    Expected to Ship in 4-9 Days
Added to your cart
CLOSE