Kickstart your Riding Season with Bike Prep and Riding Gear Shop Now
CLOSE
Shipping to US Flag United States
Free shipping over $79
Fast Cash Week | Earn $10 When you Spend $99 + $25 When You Spend $199 Shop Now

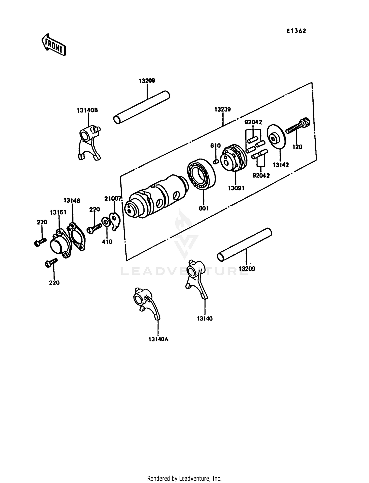
1996 Kawasaki KE100 GEAR CHANGE DRUM/SHIFT FORK(S)

Set this as my ride
GEAR CHANGE DRUM/SHIFT FORK(S)

WARNING Cancer and Reproductive Harm www.P65Warnings.ca.gov.

Added to your cart
CLOSE