Kickstart your Riding Season with Bike Prep and Riding Gear Shop Now
CLOSE
Shipping to US Flag United States
Free shipping over $79
Fast Cash Week | Earn $10 When you Spend $99 + $25 When You Spend $199 Shop Now

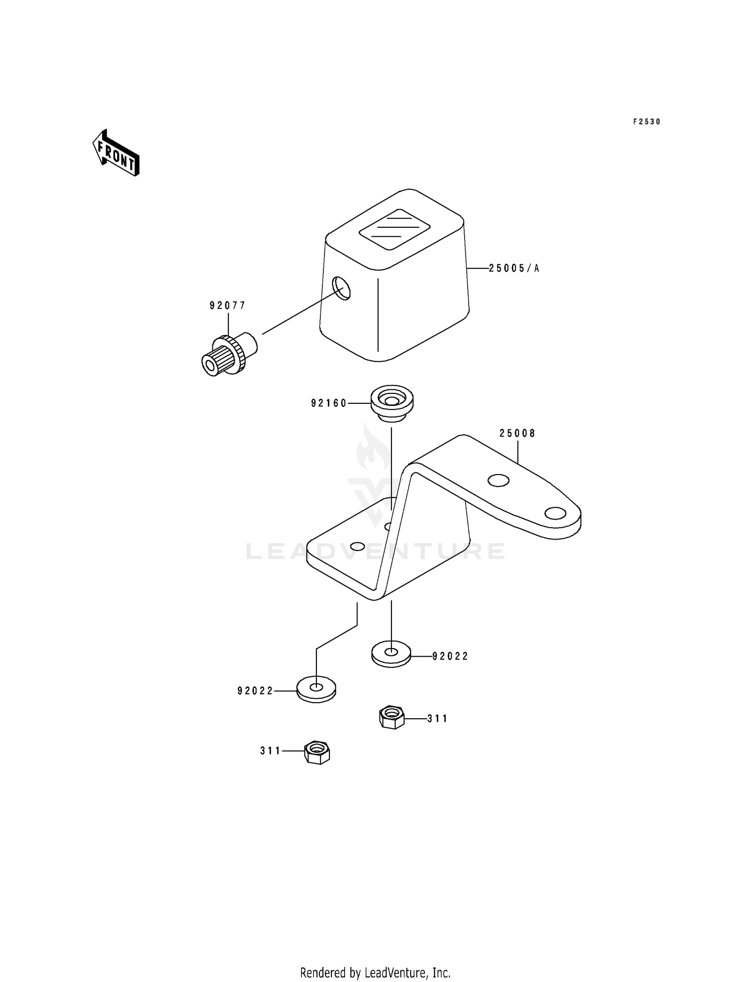
1994 Kawasaki KLX650R METER(S)

Set this as my ride
METER(S)

WARNING Cancer and Reproductive Harm www.P65Warnings.ca.gov.

  • # Part Retail Our Price
    Stock Status Suggested Quantity
  • 25005
    25005-1548 speedometer,trip(mile [US] Retail: $185.98 Price: See price in cart
    Expected to Ship in 4-9 Days
  • 25005A
    25005-1549 speedometer,trip(km) [CN] Retail: $242.98 Price: See price in cart
    Expected to Ship in 4-9 Days
  • 25008
    25008-1196 bracket-meter
    This part is currently unavailable.
  • 92022
    92022-1888 washer,4.3x12.5x1 Retail: $3.36 Price: $1.77
    In Stock
  • 92077
    92077-1114 knob,trip
    This part is currently unavailable.
  • 92160
    92160-1452 damper Price: $6.56
    Expected to Ship in 4-9 Days
  • 311
    311AA0400 nut-hex,4mm Supersedes: 311B0400 (NUT-HEX) Price: $0.93
    Expected to Ship in 4-9 Days
Added to your cart
CLOSE