Kickstart your Riding Season with Bike Prep and Riding Gear Shop Now
CLOSE
Shipping to US Flag United States
Free shipping over $79
My Ride: 2012 Triumph Scrambler
Moto Madness Sale | Get Up To 65% Off Parts & Gear Shop Now

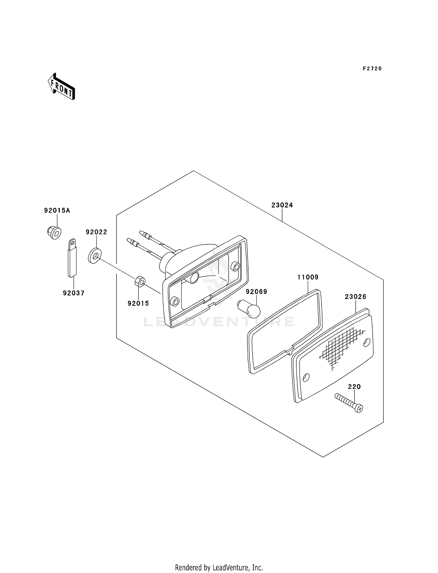
1994 Kawasaki BAYOU 220 2X4 TAILLIGHT(S)

Set this as my ride
TAILLIGHT(S)

WARNING Cancer and Reproductive Harm www.P65Warnings.ca.gov.

  • # Part Retail Our Price
    Stock Status Suggested Quantity
  • 220
    220AA0425 screw-pan cros,4x25 Supersedes: 220B0425 (SCREW-PAN-CROS,4X25) Price: $1.22
    Expected to Ship in 4-9 Days
  • 11009
    11009-4004 gasket Price: $8.75
    Expected to Ship in 4-9 Days
  • 23024
    23024-1120 lamp-assy-tail Retail: $57.94 Price: See price in cart
    Expected to Ship in 4-9 Days
  • 23026
    23026-4003 lens,tail lamp
    This part is currently unavailable.
  • 92015
    Expected to Ship in 4-9 Days
  • 92015A
    92015-1695 nut Price: $5.29
    Expected to Ship in 4-9 Days
  • 92022
    Expected to Ship in 4-9 Days
  • 92037
    92037-1539 clamp,l=45 Supersedes: 92033-S018 (CLAMP,L=45) Price: $5.75
    Expected to Ship in 4-9 Days
  • 92069
    92069-1012 bulb,12v 8w
    This part is currently unavailable.
Added to your cart
CLOSE