Kickstart your Riding Season with Bike Prep and Riding Gear Shop Now
CLOSE
Shipping to US Flag United States
Free shipping over $79
Moto Madness Sale | Get Up To 65% Off Parts & Gear Shop Now

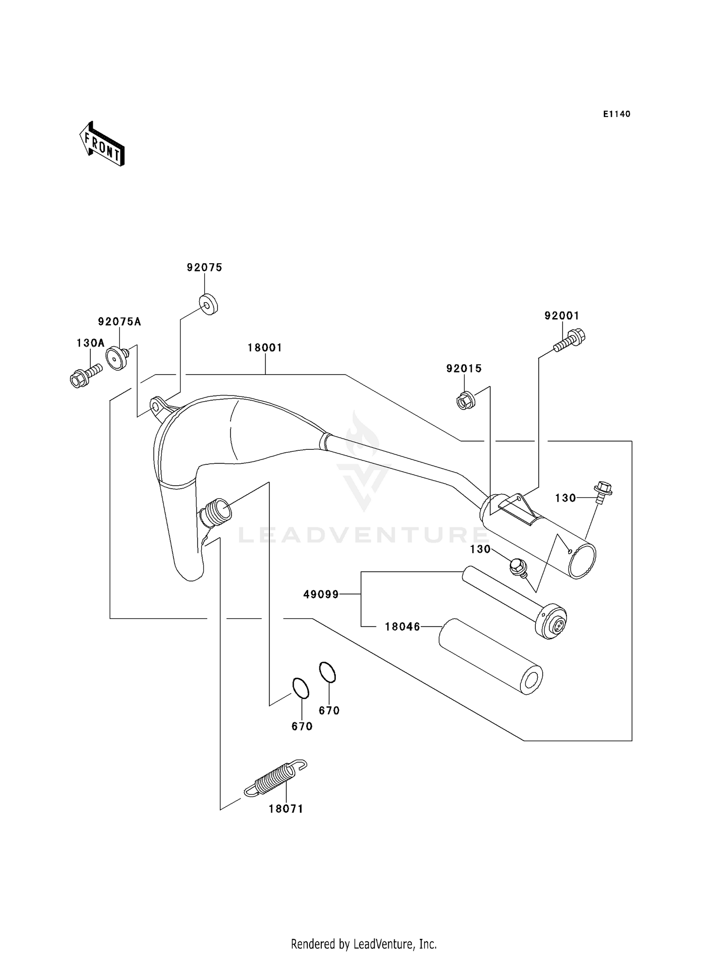
1992 Kawasaki KX60 MUFFLER

Set this as my ride
MUFFLER

WARNING Cancer and Reproductive Harm www.P65Warnings.ca.gov.

  • # Part Retail Our Price
    Stock Status Suggested Quantity
  • 130
    130BA0508 bolt-flanged,5x8 Supersedes: 130G0508 (BOLT-FLANGED) Price: $2.14
    In Stock
  • 130A
    130BA0625 bolt-flanged,6x25 Supersedes: 130H0625 (BOLT-FLANGED,6X25) Price: $1.38
    In Stock
  • 670
    670E3032 o ring,32mm Retail: $13.08 Price: $12.03
    In Stock
  • 18001
    18001-1718 muffler
    This part is currently unavailable.
  • 18046
    18046-1094 wool,baffle pipe
    This part is currently unavailable.
  • 18071
    18071-003 spring-connector Retail: $11.49 Price: $10.57
    Expected to Ship in 4-9 Days
  • 49099
    49099-1259 baffle-pipe muffler Retail: $121.12 Price: See price in cart
    Expected to Ship in 4-9 Days
  • 92001
    92001-1517 bolt,w/washer,6x12
    This part is currently unavailable.
  • 92015
    92210-0630 nut,flanged,6mm Supersedes: 92015-1078 (NUT,FLANGED,6MM) Price: $2.30
    In Stock
  • 92075
    Expected to Ship in 4-9 Days
  • 92075A
    92075-1572 damper,muffler
    This part is currently unavailable.
Added to your cart
CLOSE