Kickstart your Riding Season with Bike Prep and Riding Gear Shop Now
CLOSE
Shipping to US Flag United States
Free shipping over $79
Bargain Bin Blowout! | Save 40-90% Off! Shop Now

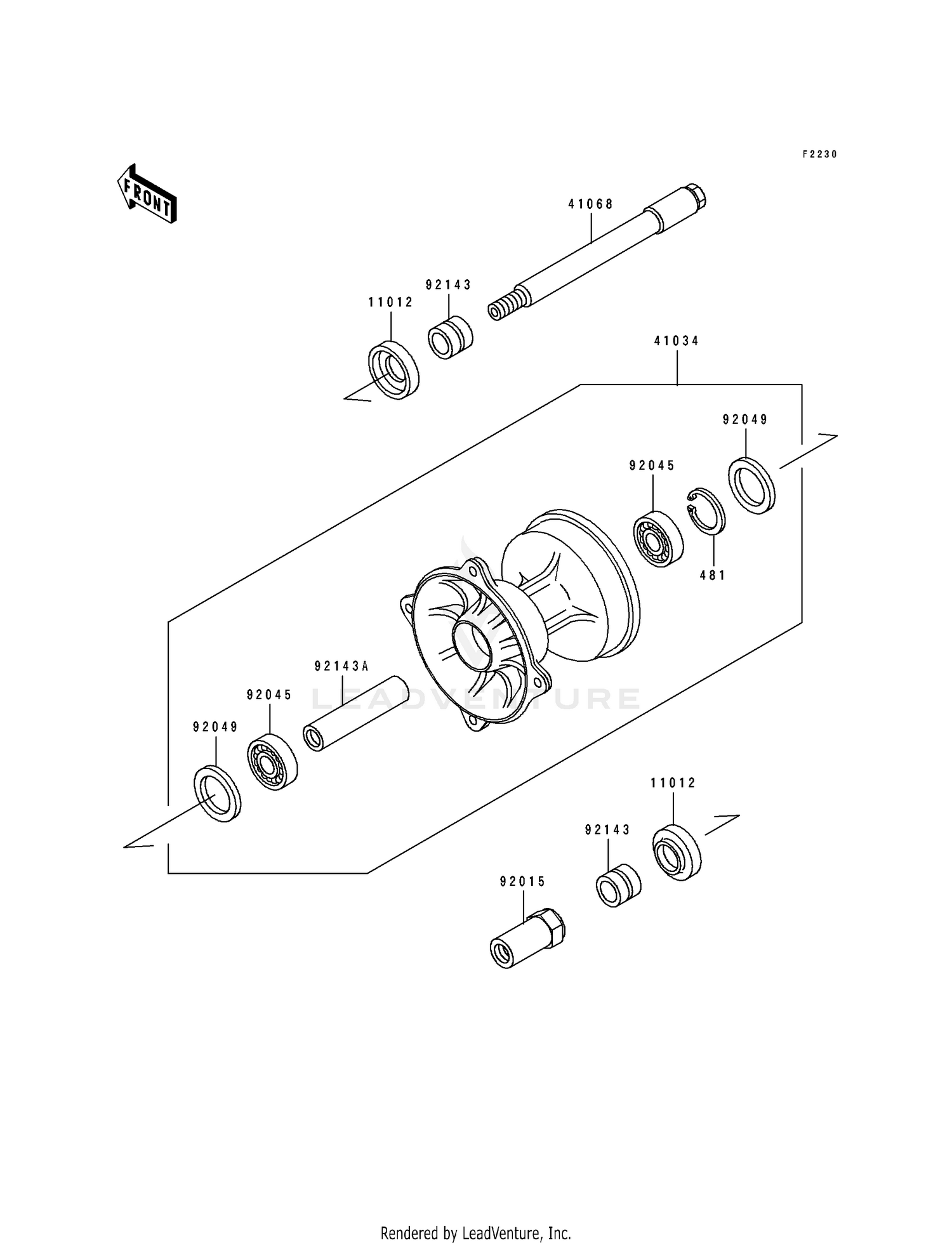
1992 Kawasaki KX250 FRONT HUB

Set this as my ride
FRONT HUB

WARNING Cancer and Reproductive Harm www.P65Warnings.ca.gov.

  • # Part Retail Our Price
    Stock Status Suggested Quantity
  • 11012
    11012-1580 cap
    This part is currently unavailable.
  • 41034
    41034-1204 drum-assy,front brake
    This part is currently unavailable.
  • 41068
    41068-1310 axle,fr
    This part is currently unavailable.
  • 92015
    92015-1815 nut,axle
    This part is currently unavailable.
  • 92045
    92045-1238 bearing-ball,6203llx7
    This part is currently unavailable.
  • 92049
    92049-1204 seal-oil,bsnc2 22404
    This part is currently unavailable.
  • 92143
    92143-1297 collar,fr axle,l=18
    This part is currently unavailable.
  • 92143A
    92143-1401 collar,fr brake drum,
    This part is currently unavailable.
  • 481
    92033-1040 ring-snap,40mm Supersedes: 481J4000 (RING,SNAP,43.5M/M) Price: $6.38
    Expected to Ship in 4-9 Days
Added to your cart
CLOSE