Kickstart your Riding Season with Bike Prep and Riding Gear Shop Now
CLOSE
Shipping to US Flag United States
Free shipping over $79
Moto Madness Sale | Get Up To 65% Off Parts & Gear Shop Now

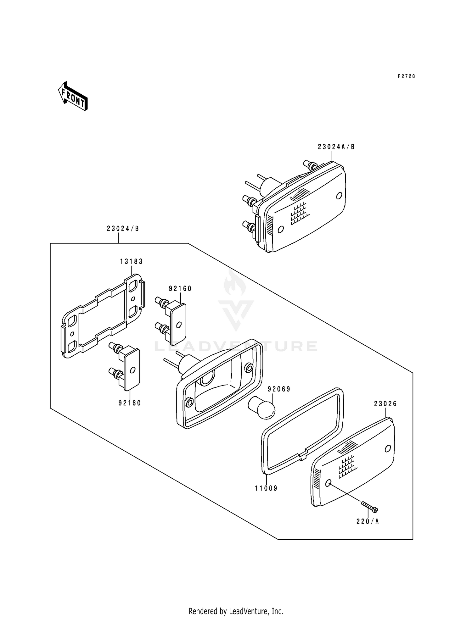
1992 Kawasaki BAYOU 300 4X4 TAILLIGHT(S)

Set this as my ride
TAILLIGHT(S)

WARNING Cancer and Reproductive Harm www.P65Warnings.ca.gov.

  • # Part Retail Our Price
    Stock Status Suggested Quantity
  • 220A
    220AA0420 screw-pan-cros,4x20 Supersedes: 220B0420 (SCREW-PAN-CROS) Price: $3.07
    Expected to Ship in 4-9 Days
  • 11009
    11009-4004 gasket Price: $8.75
    Expected to Ship in 4-9 Days
  • 13183
    13183-1261 plate,tail lamp Retail: $20.04 Price: See price in cart
    Expected to Ship in 4-9 Days
  • 23024B
    23024-1118 lamp-assy-tail
    This part is currently unavailable.
  • 23026
    23026-4003 lens,tail lamp
    This part is currently unavailable.
  • 92069
    92069-1012 bulb,12v 8w
    This part is currently unavailable.
  • 92160
    Expected to Ship in 4-9 Days
Added to your cart
CLOSE