Kickstart your Riding Season with Bike Prep and Riding Gear Shop Now
CLOSE
Shipping to US Flag United States
Free shipping over $79
Moto Madness Sale | Get Up To 65% Off Parts & Gear Shop Now

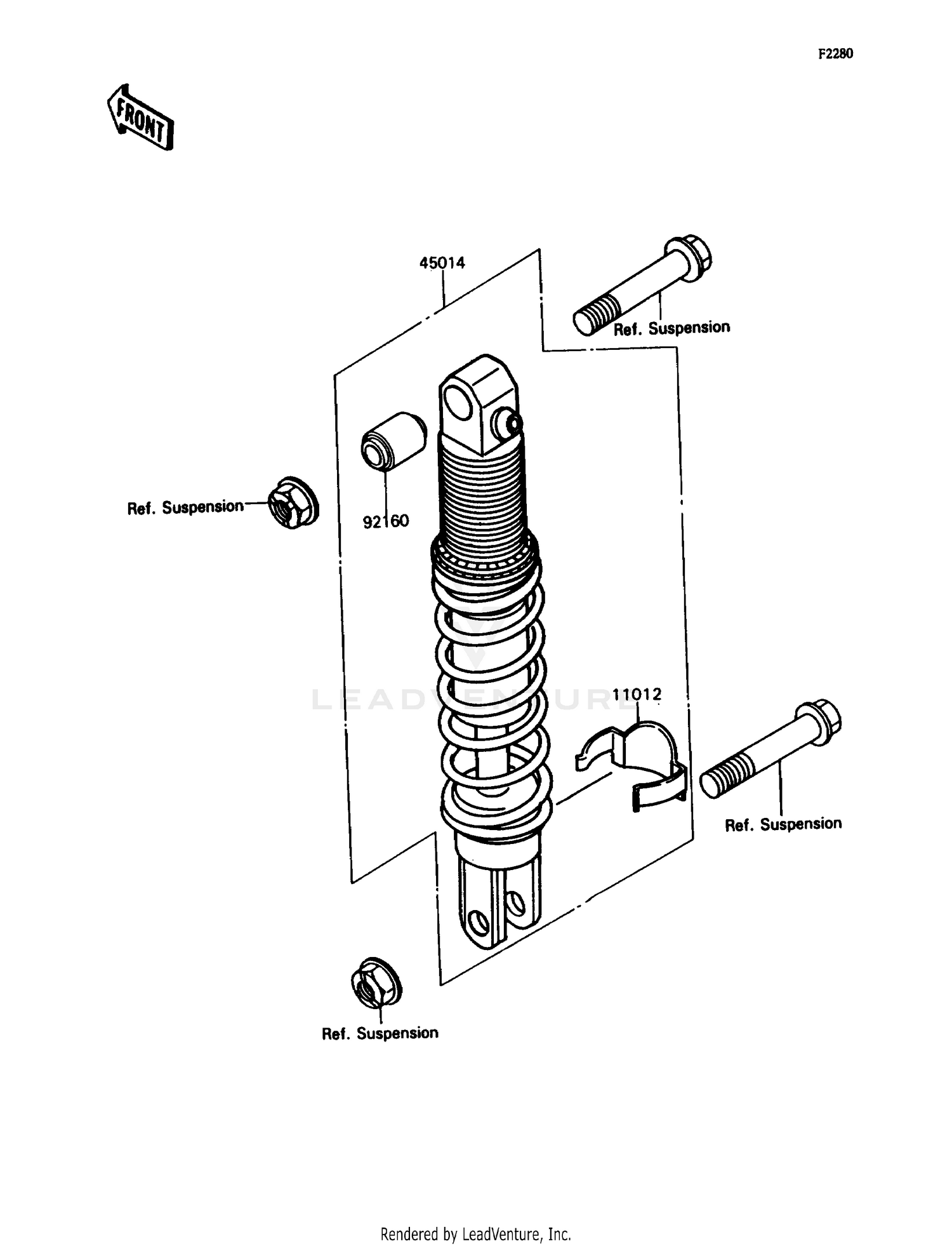
1990 Kawasaki ZX-7 SHOCK ABSORBER(S)

Set this as my ride
SHOCK ABSORBER(S)

WARNING Cancer and Reproductive Harm www.P65Warnings.ca.gov.

  • # Part Retail Our Price
    Stock Status Suggested Quantity
  • 11012
    11012-1398 cap,shockabsorber Retail: $23.81 Price: See price in cart
    Expected to Ship in 4-9 Days
  • 45014
    45014-1473 shockabsorber
    This part is currently unavailable.
  • 92160
    92160-1161 damper,shockabsorber Retail: $30.91 Price: See price in cart
    Expected to Ship in 4-9 Days
Added to your cart
CLOSE