BOGOS | Buy One Get One Deals Shop Now
CLOSE
Shipping to US Flag United States
Free shipping over $79
My Ride: 1999 Kawasaki Vulcan 800 Classic - VN800B
Fast Cash Week | Earn $25 Fast Cash When You Spend $199 Learn More

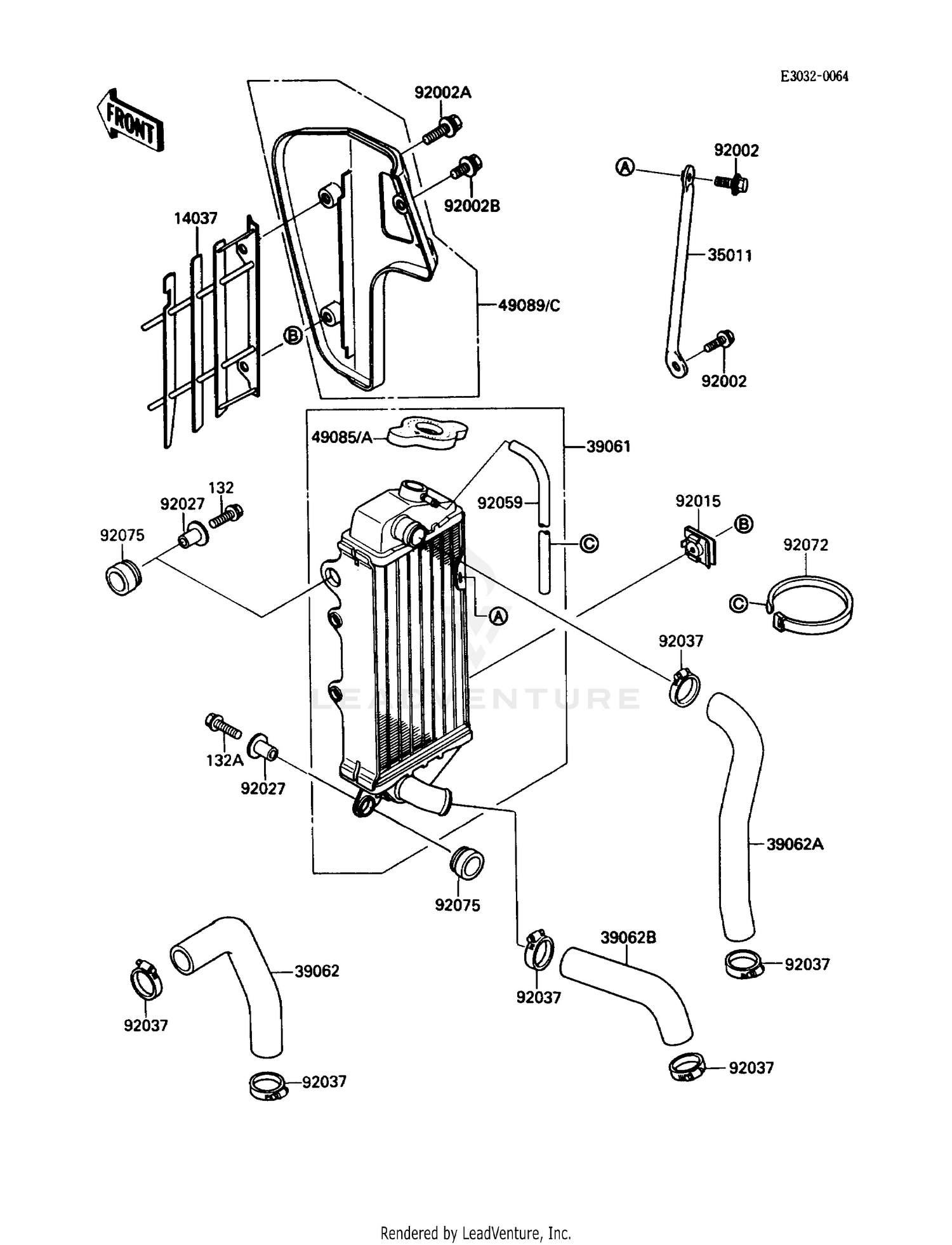
1990 Kawasaki KX80 RADIATOR

Set this as my ride
RADIATOR

WARNING Cancer and Reproductive Harm www.P65Warnings.ca.gov.

  • # Part Retail Our Price
    Stock Status Suggested Quantity
  • 14037
    14037-1249-6W screen,radiator,l.gre Supersedes: 14037-1113-6W (SCREEN,RADIATOR,L.GR) Retail: $35.97 Price: See price in cart
    In Stock
  • 35011
    35011-1456 stay,radiator
    This part is currently unavailable.
  • 39061
    39061-1136 radiator-assy
    This part is currently unavailable.
  • 39062
    39062-1134 hose-cooling
    This part is currently unavailable.
  • 39062A
    39062-1250 hose-cooling,head-rad
    This part is currently unavailable.
  • 39062B
    39062-1317 hose-cooling,radiator
    This part is currently unavailable.
  • 49085
    49085-1066 cap-assy-pressure Supersedes: 49085-1005 (CAP-ASSY-PRESSURE) Retail: $37.42 Price: See price in cart
    Expected to Ship in 4-9 Days
  • 49085A
    49085-1059 cap-assy-pressure,p=1.6 (OPTION) Retail: $52.95 Price: See price in cart
    Expected to Ship in 4-9 Days
  • 49089C
    49089-5086-6W shroud-engine,rh,l.gr
    This part is currently unavailable.
  • 92002
    92150-1505 bolt Supersedes: 92150-1340 (BOLT,FLANGED,6X14) Price: $5.83
    In Stock
  • 92002A
    92150-1506 bolt,flanged,6x16 Supersedes: 92002-1461 (BOLT,6X16) Price: $5.75
    In Stock
  • 92002B
    92150-1435 bolt,6x12 Supersedes: 92002-1662 (BOLT,L=12) Price: $4.96
    In Stock
  • 92015
    92015-1487 nut Price: $5.52
    In Stock
  • 92027
    In Stock
  • 92037
    92037-1589 clamp,cooling hose Retail: $18.57 Price: $17.08
    Expected to Ship in 4-9 Days
  • 92059
    92191-1211 tube,6x9x700 Supersedes: 92059-1259 (TUBE,6X9X700) Price: $11.09
    In Stock
  • 92072
    Expected to Ship in 4-9 Days
  • 92075
    In Stock
  • 132
    132BA0620 bolt-flanged-small,6x20 Supersedes: 132G0620 (BOLT-FLANGED-SMALL,6X20) Price: $2.86
    In Stock
  • 132A
    92153-1148 bolt,6x25 Supersedes: 132G0625 (BOLT-FLANGED-SMALL) Price: $1.31
    In Stock
Added to your cart
CLOSE