Kickstart your Riding Season with Bike Prep and Riding Gear Shop Now
CLOSE
Shipping to US Flag United States
Free shipping over $79
Fast Cash Week | Earn $10 When you Spend $99 + $25 When You Spend $199 Shop Now

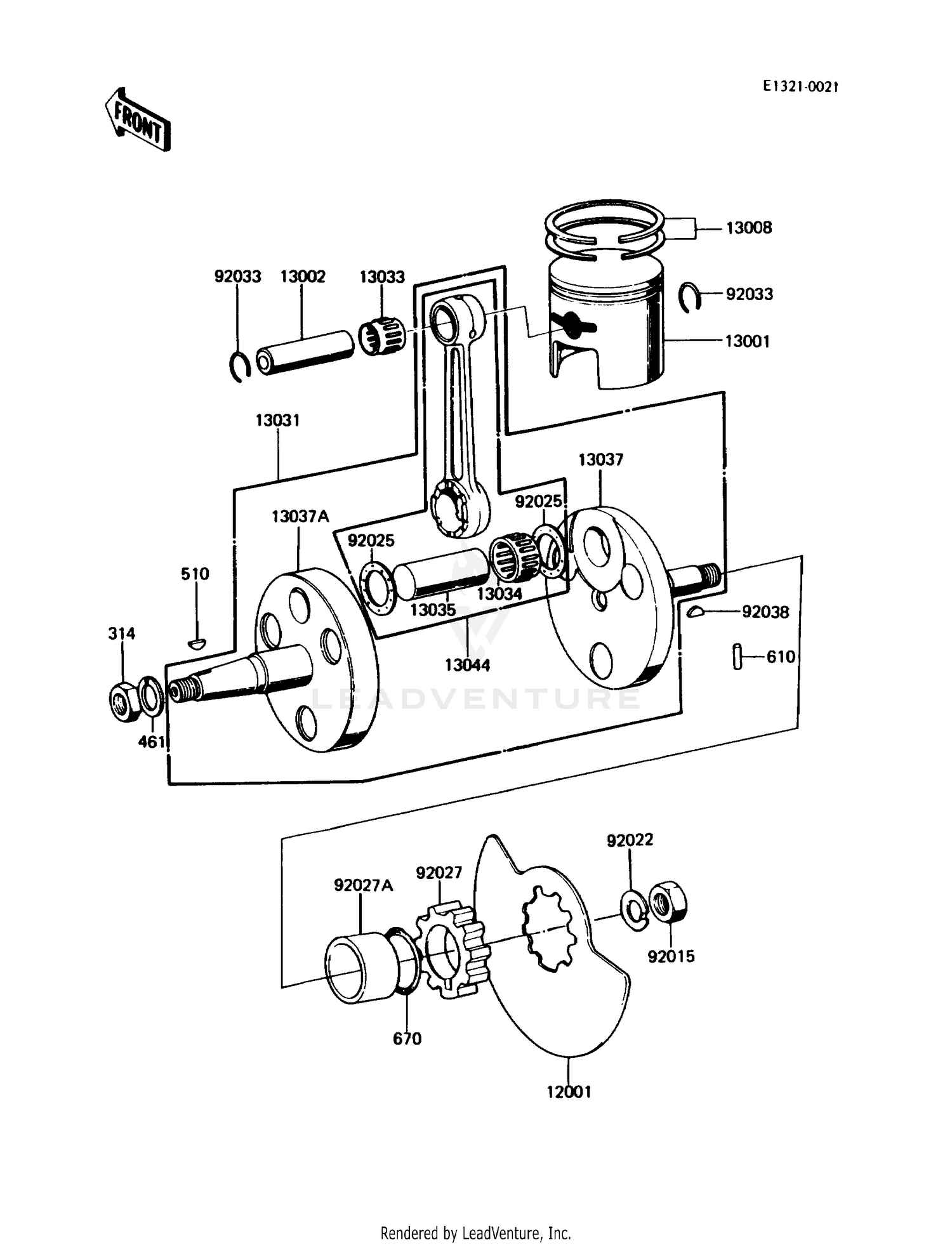
1990 Kawasaki KE100 CRANKSHAFT/PISTON

Set this as my ride
CRANKSHAFT/PISTON

WARNING Cancer and Reproductive Harm www.P65Warnings.ca.gov.

  • # Part Retail Our Price
    Stock Status Suggested Quantity
  • 12001
    12002-030 valve,rotary disc Retail: $20.71 Price: See price in cart
    Expected to Ship in 4-9 Days
  • 13001
    13001-0713 piston-engine,std Supersedes: 13001-057 (PISTON-ENGINE,STD)
    This part is currently unavailable.
  • 13002
    13002-003 pin-piston Retail: $14.95 Price: $13.75
    Expected to Ship in 4-9 Days
  • 13008
    13008-5009 ring set,std
    This part is currently unavailable.
  • 13031
    13036-043 crank&conrod assy
    This part is currently unavailable.
  • 13033
    13033-030 bearing,small end Retail: $26.20 Price: See price in cart
    Expected to Ship in 4-9 Days
  • 13034
    13034-034 bearing,big end Retail: $30.55 Price: See price in cart
    Expected to Ship in 4-9 Days
  • 13035
    13035-025 crank pin
    This part is currently unavailable.
  • 13037
    13037-1135 crankshaft,rh
    This part is currently unavailable.
  • 13037A
    13037-1136 crankshaft,lh
    This part is currently unavailable.
  • 13044
    13044-5015 connecting rod set Retail: $158.99 Price: See price in cart
    Expected to Ship in 4-9 Days
  • 92015
    Expected to Ship in 4-9 Days
  • 92022
    92024-003 washer lock 12mm
    This part is currently unavailable.
  • 92025
    92025-047 washer-side
    This part is currently unavailable.
  • 92027
    92027-1245 collar,rotary valve Retail: $24.19 Price: See price in cart
    Expected to Ship in 4-9 Days
  • 92027A
    92027-285 collar,crankshaft Retail: $10.67 Price: $9.82
    Expected to Ship in 4-9 Days
  • 92033
    Expected to Ship in 4-9 Days
  • 92038
    Expected to Ship in 4-9 Days
  • 314
    314AA1000 nut-hex-fine Supersedes: 314B1000 (NUT,10MM) Price: $1.19
    Expected to Ship in 4-9 Days
  • 461
    461DA1000 washer-spring,10mm Supersedes: 461F1000 (WASHER-SPRING,10MM) Price: $1.19
    Expected to Ship in 4-9 Days
  • 510
    In Stock
  • 610
    Expected to Ship in 4-9 Days
  • 670
    In Stock
Added to your cart
CLOSE