Kickstart your Riding Season with Bike Prep and Riding Gear Shop Now
CLOSE
Shipping to US Flag United States
Free shipping over $79
Moto Madness Sale | Get Up To 65% Off Parts & Gear Shop Now

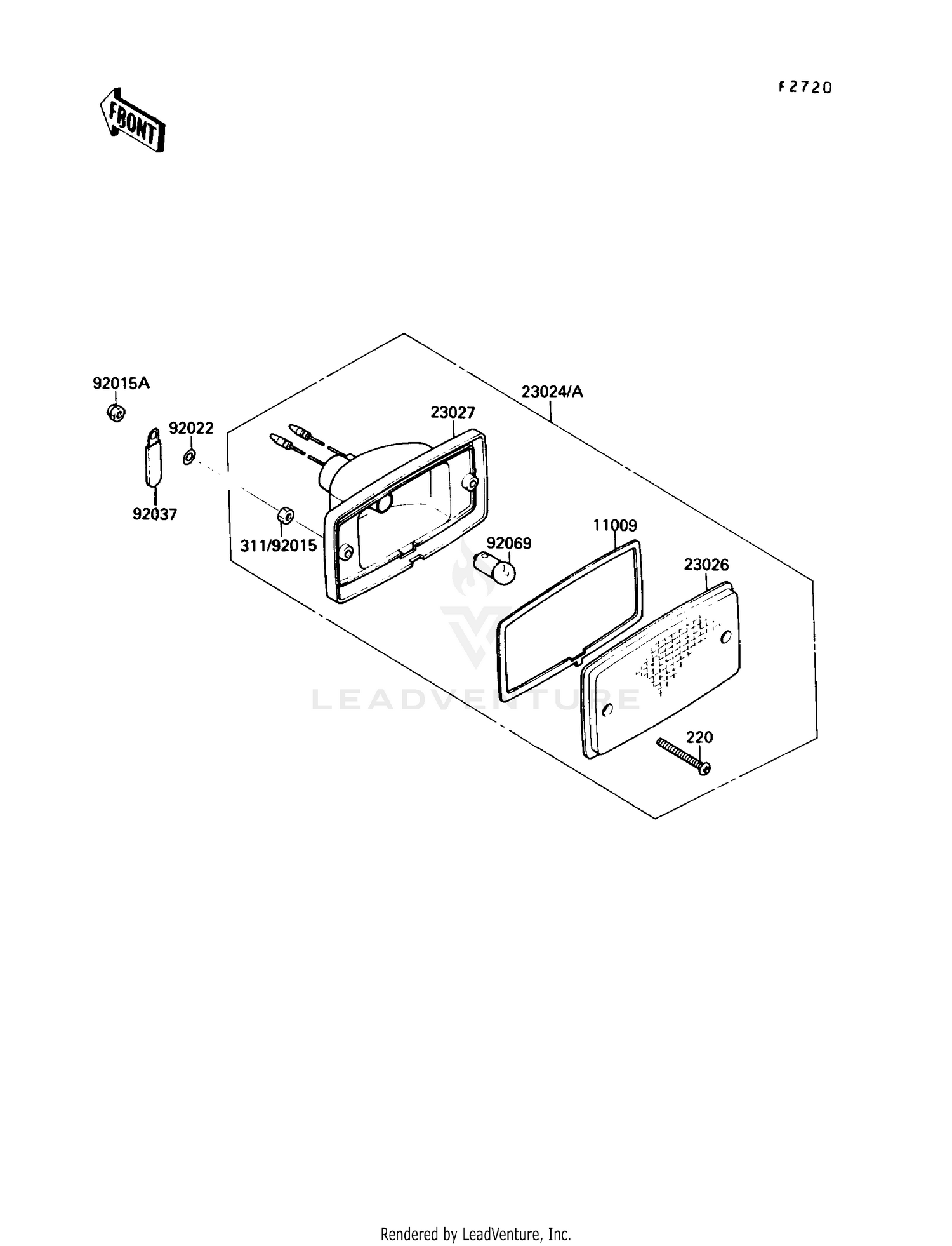
1990 Kawasaki BAYOU 220 2X4 TAIL LAMP

Set this as my ride
TAIL LAMP

WARNING Cancer and Reproductive Harm www.P65Warnings.ca.gov.

  • # Part Retail Our Price
    Stock Status Suggested Quantity
  • 220
    220AA0425 screw-pan cros,4x25 Supersedes: 220B0425 (SCREW-PAN-CROS,4X25) Price: $1.22
    Expected to Ship in 4-9 Days
  • 311
    311H0400 nut-hex,4mm
    This part is currently unavailable.
  • 11009
    11009-4004 gasket Price: $8.75
    Expected to Ship in 4-9 Days
  • 23024
    23024-1113 lamp-assy-tail
    This part is currently unavailable.
  • 23026
    23026-4003 lens,tail lamp
    This part is currently unavailable.
  • 23027
    23027-4001 body-comp-tail lamp
    This part is currently unavailable.
  • 92015A
    92015-1695 nut Price: $5.29
    Expected to Ship in 4-9 Days
  • 92022
    Expected to Ship in 4-9 Days
  • 92037
    92037-1539 clamp,l=45 Supersedes: 92033-S018 (CLAMP,L=45) Price: $5.75
    Expected to Ship in 4-9 Days
  • 92069
    92069-1012 bulb,12v 8w
    This part is currently unavailable.
Added to your cart
CLOSE